Каталог запасных частей к технике: Opel Omega Caravan Turbo GL (2012). Передняя часть кузова: бампер, фары, решетка радиатора, капот, крылья

26
20
21
21
22
22
23
23
24
20
27
28
28
16
16
25
6
7
13
5
8
9
9
10
11
11
12
4
14
14
17
17
18
18
19
19
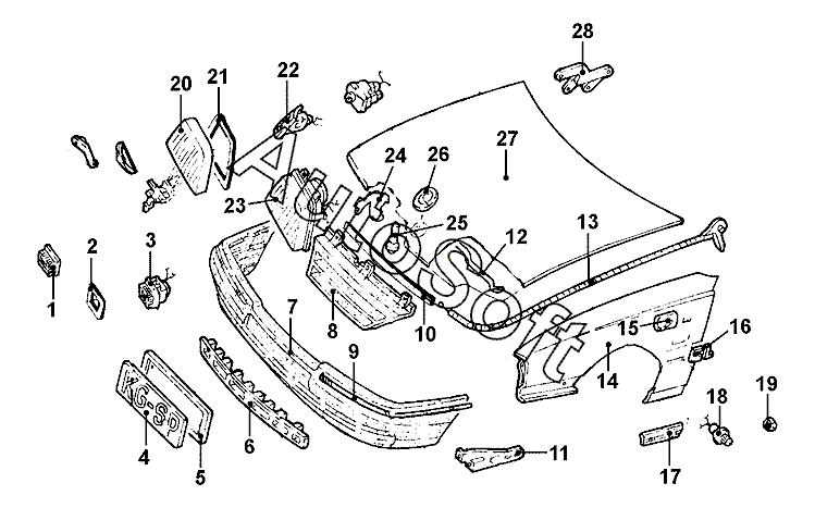
Позиция на иллюстрации | Заводской номер детали | Название детали | |
---|---|---|---|
4 | -***- | Знак номерной передн. отражающий | |
5 | -***- | Усилитель крепления передн. номерного знака | |
6 | 1***7 | Накладка панели облицовки передка нижн. | |
7 | 1***7 | Панель облицовки передка в сборе | |
8 | 1***9 | Решетка радиатора | |
9 | 1***5 | Накладка декоративная панели облицовки передка лев | |
9 | 1***7 | Накладка декоративная панели облицовки передка пр. | |
10 | 1***7 | Уплотнитель решетки радиатора | |
11 | 1***5 | Кронштейн передн. бампера лев. внутр. | |
11 | 1***6 | Кронштейн передн. бампера прав. внутр. | |
12 | 1***7 | Опора капота | |
13 | 1***7 | Тяга привода замка капота | |
14 | 1***6 | Крыло передн. лев. | |
14 | 1***6 | Крыло передн. прав. | |
16 | 1***6 | Надпись на передн. прав. крыле | |
16 | 1***6 | Надпись на передн. лев. крыле | |
17 | 1***6 | Накладка защитная крыла лев. | |
17 | 1***6 | Накладка защитная крыла прав. | |
18 | 1***3 | Фонарь боков. повторителя указателя поворота лев. | |
18 | 1***4 | Фонарь боков. повторителя указателя поворота прав. | |
19 | 1***2 | Стекло лев. боков. повторителя указат. поворота | |
19 | 1***2 | Стекло боков. повторителя указателя поворота прав. | |
20 | 1***6 | Стекло фары лев. | |
20 | 1***7 | Стекло фары прав. | |
21 | 1***1 | Уплотнитель стекла прав. фары | |
21 | 1***1 | Уплотнитель стекла лев. фары | |
22 | 1***4 | Фонарь указателя поворота передн. прав. | |
22 | 1***5 | Фонарь указателя поворота передн. лев. | |
23 | 1***0 | Фара лев. в сборе | |
23 | 1***1 | Фара прав. в сборе | |
24 | 1***9 | Защелка капота | |
25 | 1***3 | Цапфа направляющая | |
26 | 5***3 | Цифры фирменные передн. | |
27 | 1***4 | Капот | |
28 | 1***0 | Петля капота лев. | |
28 | 1***1 | Петля капота прав. |
Содержащиеся в справочниках-каталогах запасные части и детали не предлагаются к продаже, а носят исключительно информационный характер. В демо-версии артикулы (номера деталей) скрыты. Если вы хотите видеть полные оригинальные номера запчастей, вам необходимо зарегистрироваться на нашем сайте и приобрести подписку по интересующей вас конфигурации, после этого вы сможете встроить онлайн-каталоги на ваш сайт или пользоваться ими из личного кабинета нашего сайта. Обращаем ваше внимание на то, что каталоги содержат информацию об оригинальных заводских номерах и названиях запчастей. База по аналогам в данный момент не реализована. Поиска по VIN-номерам в онлайн-каталоге не предусмотрено. Выбор конкретного каталога осуществляется путем открытия нужного типа техники, марки, модели с учетом года выпуска или модификации.