Каталог запасных частей к технике: Opel Omega Caravan Turbo GL (2012). Задняя часть кузова: лонжерон, пол багажника, боковина

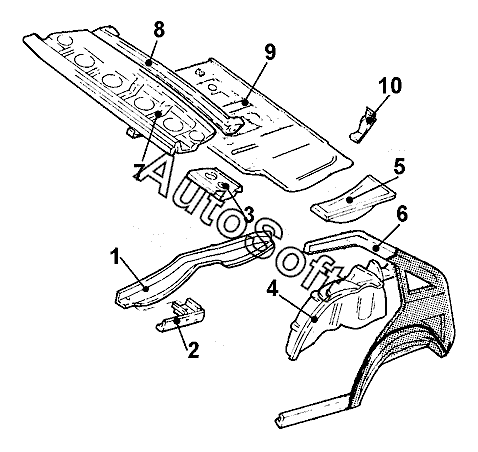
2
2
3
3
8
10
10
7
Позиция на иллюстрации | Заводской номер детали | Название детали | |
---|---|---|---|
2 | 0***3 | Опора домкрата задн. лев. | |
2 | 0***4 | Опора домкрата задн. прав. | |
3 | 0***0 | Кронштейн задн. прав. спинки | |
3 | 0***0 | Кронштейн задн. лев. спинки | |
7 | 0***5 | Панель задка, верхн. часть | |
8 | 0***0 | Обтекатель задн. | |
10 | 0***2 | Опора задн. бампера лев. | |
10 | 0***3 | Опора задн. бампера прав. |
Содержащиеся в справочниках-каталогах запасные части и детали не предлагаются к продаже, а носят исключительно информационный характер. В демо-версии артикулы (номера деталей) скрыты. Если вы хотите видеть полные оригинальные номера запчастей, вам необходимо зарегистрироваться на нашем сайте и приобрести подписку по интересующей вас конфигурации, после этого вы сможете встроить онлайн-каталоги на ваш сайт или пользоваться ими из личного кабинета нашего сайта. Обращаем ваше внимание на то, что каталоги содержат информацию об оригинальных заводских номерах и названиях запчастей. База по аналогам в данный момент не реализована. Поиска по VIN-номерам в онлайн-каталоге не предусмотрено. Выбор конкретного каталога осуществляется путем открытия нужного типа техники, марки, модели с учетом года выпуска или модификации.