Каталог запасных частей к технике: Opel Signum 1.9 CDTI (2012). Кузов 10

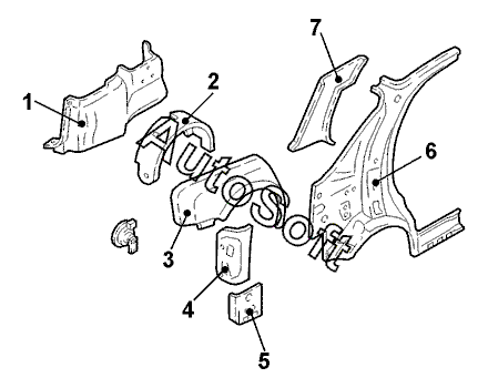
1
1
2
2
3
3
4
4
5
5
6
6
7
7
Позиция на иллюстрации | Заводской номер детали | Название детали | |
---|---|---|---|
1 | 7***7 | Облицовка боковины задн. лев. | |
1 | 7***7 | Облицовка боковины задн. прав. | |
2 | 1***5 | Арка задн. колеса лев. внутр. | |
2 | 1***4 | Арка задн. колеса прав. внутр. | |
3 | 5***5 | Шумоизоляция арки лев. колеса | |
3 | 5***7 | Шумоизоляция арки прав. колеса | |
4 | 5***6 | Надставка боковины задн. прав. | |
4 | 5***7 | Надставка боковины задн. лев. | |
5 | 5***4 | Надставка задн. прав. боковины внутр. | |
5 | 5***5 | Надставка задн. лев. боковины внутр. | |
6 | 5***3 | Боковина лев., задн. внутр. часть | |
6 | 5***4 | Боковина прав., задн. внутр. часть | |
7 | 7***3 | Облицовка задн. лев. стойки | |
7 | 7***4 | Облицовка задн. прав. стойки |
Содержащиеся в справочниках-каталогах запасные части и детали не предлагаются к продаже, а носят исключительно информационный характер. В демо-версии артикулы (номера деталей) скрыты. Если вы хотите видеть полные оригинальные номера запчастей, вам необходимо зарегистрироваться на нашем сайте и приобрести подписку по интересующей вас конфигурации, после этого вы сможете встроить онлайн-каталоги на ваш сайт или пользоваться ими из личного кабинета нашего сайта. Обращаем ваше внимание на то, что каталоги содержат информацию об оригинальных заводских номерах и названиях запчастей. База по аналогам в данный момент не реализована. Поиска по VIN-номерам в онлайн-каталоге не предусмотрено. Выбор конкретного каталога осуществляется путем открытия нужного типа техники, марки, модели с учетом года выпуска или модификации.