Каталог запасных частей к технике: Opel Senator B Automatic CD (2012). Обивка салона

7
26
27
3
13
13
15
5
5
6
24
7
14
18
18
20
21
22
25
25
11
2
2
6
8
8
9
9
10
10
1
11
12
12
16
16
17
19
23
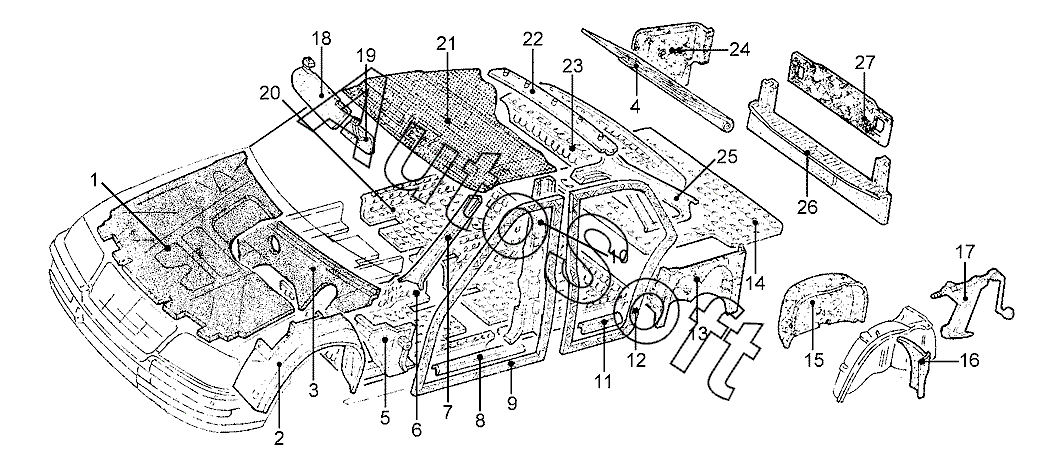
Позиция на иллюстрации | Заводской номер детали | Название детали | |
---|---|---|---|
1 | 1***4 | Шумоизоляция капота | |
2 | 1***0 | Подкрылок передн. лев. колеса | |
2 | 1***0 | Подкрылок передн. прав. колеса | |
3 | 0***4 | Шумоизоляция панели/щитка передка | |
5 | 2***5 | Облицовка передн. лев. стойки нижн. | |
5 | 2***6 | Облицовка передн. прав. стойки нижн. | |
6 | 2***7 | Облицовка основания передн. прав. | |
6 | 2***9 | Облицовка основания передн. лев. | |
7 | 2***4 | Облицовка передн. лев. стойки верхн. | |
7 | 2***7 | Облицовка передн. прав. стойки верхн. | |
8 | 2***4 | Облицовка порога передн. прав. наружн. | |
8 | 2***4 | Облицовка порога передн. лев. наружн. | |
9 | 0***1 | Уплотнитель передн. прав. двери | |
9 | 0***1 | Уплотнитель передн. лев. двери | |
10 | 2***7 | Обивка средн. лев. стойки | |
10 | 2***8 | Обивка средн. прав. стойки | |
11 | 2***0 | Облицовка порога задн. прав. наружн. | |
11 | 2***0 | Облицовка порога задн. лев. наружн. | |
12 | 0***5 | Уплотнитель задн. прав. двери | |
12 | 0***5 | Уплотнитель задн. лев. двери | |
13 | 2***2 | Облицовка арки задн. лев. колеса | |
13 | 2***3 | Облицовка арки задн. прав. колеса | |
14 | 2***8 | Облицовка багажника | |
15 | 2***6 | Кожух запасного колеса | |
16 | 1***5 | Подкрылок задн. лев. колеса | |
16 | 1***5 | Подкрылок задн. прав. колеса | |
17 | 1***5 | Домкрат | |
18 | 1***1 | Козырек солнцезащитный прав. | |
18 | 1***1 | Козырек солнцезащитный лев. | |
19 | 1***0 | Зеркало внутр. | |
20 | 2***4 | Облицовка основания задн. | |
21 | 2***6 | Облицовка крыши | |
22 | 2***1 | Облицовка каркаса крыши задн. | |
23 | 2***7 | Облицовка полки для вещей за задн. сиденьем | |
24 | 2***4 | Облицовка багажника прав. | |
25 | 2***2 | Облицовка стойки крыши задн. лев. | |
25 | 2***3 | Облицовка стойки крыши задн. прав. | |
26 | 2***6 | Облицовка задка внутр. | |
27 | 2***0 | Облицовка крышки багажника внутр. |
Содержащиеся в справочниках-каталогах запасные части и детали не предлагаются к продаже, а носят исключительно информационный характер. В демо-версии артикулы (номера деталей) скрыты. Если вы хотите видеть полные оригинальные номера запчастей, вам необходимо зарегистрироваться на нашем сайте и приобрести подписку по интересующей вас конфигурации, после этого вы сможете встроить онлайн-каталоги на ваш сайт или пользоваться ими из личного кабинета нашего сайта. Обращаем ваше внимание на то, что каталоги содержат информацию об оригинальных заводских номерах и названиях запчастей. База по аналогам в данный момент не реализована. Поиска по VIN-номерам в онлайн-каталоге не предусмотрено. Выбор конкретного каталога осуществляется путем открытия нужного типа техники, марки, модели с учетом года выпуска или модификации.