Каталог запасных частей к технике: Opel Antara 2.4 Edition (2012). Обивка двери передней

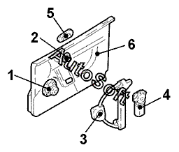
1
1
2
2
3
3
4
4
5
5
6
6
Позиция на иллюстрации | Заводской номер детали | Название детали | |
---|---|---|---|
1 | 4***5 | Динамик передн. лев. двери нижн. | |
1 | 4***6 | Динамик передн. прав. двери нижн. | |
2 | 4***9 | Динамик передн. лев. двери верхн. | |
2 | 4***0 | Динамик передн. прав. двери верхн. | |
3 | 4***5 | Стеклоподъемник передн. лев. | |
3 | 4***6 | Стеклоподъемник передн. прав. | |
4 | 4***7 | Двигатель стеклоподъемника передн. лев. | |
4 | 4***9 | Двигатель стеклоподъемника передн. прав. | |
5 | 4***4 | Переключатель передн. лев. двери | |
5 | 4***6 | Переключатель передн. прав. двери | |
6 | 4***9 | Обивка передн. лев. двери | |
6 | 4***0 | Обивка передн. прав. двери |
Содержащиеся в справочниках-каталогах запасные части и детали не предлагаются к продаже, а носят исключительно информационный характер. В демо-версии артикулы (номера деталей) скрыты. Если вы хотите видеть полные оригинальные номера запчастей, вам необходимо зарегистрироваться на нашем сайте и приобрести подписку по интересующей вас конфигурации, после этого вы сможете встроить онлайн-каталоги на ваш сайт или пользоваться ими из личного кабинета нашего сайта. Обращаем ваше внимание на то, что каталоги содержат информацию об оригинальных заводских номерах и названиях запчастей. База по аналогам в данный момент не реализована. Поиска по VIN-номерам в онлайн-каталоге не предусмотрено. Выбор конкретного каталога осуществляется путем открытия нужного типа техники, марки, модели с учетом года выпуска или модификации.