Каталог запасных частей к технике: Opel Frontera 2.2 DTI Olympus (2012). Кузов 3

9
6
6
14
13
12
11
10
10
9
1
8
8
7
7
5
4
4
3
2
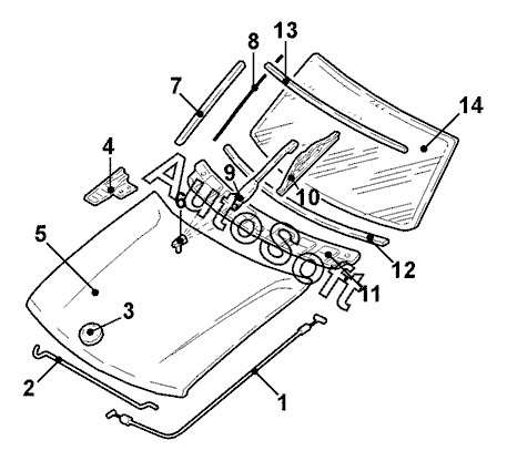
Позиция на иллюстрации | Заводской номер детали | Название детали | |
---|---|---|---|
1 | 6***1 | Тяга привода замка капота | |
2 | 1***5 | Опора капота | |
3 | 1***6 | Эмблема на капоте | |
4 | 1***5 | Петля капота прав. | |
4 | 1***6 | Петля капота лев. | |
5 | 1***1 | Капот | |
6 | 1***8 | Форсунка омывателя передн. прав. | |
6 | 1***8 | Форсунка омывателя передн. лев. | |
7 | 0***4 | Накладка декоративная лобового стекла прав. | |
7 | 0***5 | Накладка декоративная лобового стекла лев. | |
8 | 0***1 | Уплотнитель лобового стекла прав. | |
8 | 0***1 | Уплотнитель лобового стекла лев. | |
9 | 6***4 | Рычаг стеклоочистителя передн. лев. | |
9 | 6***6 | Рычаг стеклоочистителя передн. прав. | |
10 | 6***7 | Щетка стеклоочистителя прав. | |
10 | 6***7 | Щетка стеклоочистителя лев. | |
11 | 0***6 | Облицовка обтекателя | |
12 | 0***9 | Облицовка обтекателя | |
13 | 0***6 | Накладка декоративная лобового стекла верхн. | |
14 | 0***3 | Стекло лобовое трехслойное |
Содержащиеся в справочниках-каталогах запасные части и детали не предлагаются к продаже, а носят исключительно информационный характер. В демо-версии артикулы (номера деталей) скрыты. Если вы хотите видеть полные оригинальные номера запчастей, вам необходимо зарегистрироваться на нашем сайте и приобрести подписку по интересующей вас конфигурации, после этого вы сможете встроить онлайн-каталоги на ваш сайт или пользоваться ими из личного кабинета нашего сайта. Обращаем ваше внимание на то, что каталоги содержат информацию об оригинальных заводских номерах и названиях запчастей. База по аналогам в данный момент не реализована. Поиска по VIN-номерам в онлайн-каталоге не предусмотрено. Выбор конкретного каталога осуществляется путем открытия нужного типа техники, марки, модели с учетом года выпуска или модификации.