Каталог запасных частей к технике: Opel Monterey 3.5 V6 24V RS (2012). Боковина задняя (вариант 3 двери)

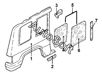
2
2
3
3
7
7
4
4
5
5
6
6
1
1
Позиция на иллюстрации | Заводской номер детали | Название детали | |
---|---|---|---|
1 | 5***3 | Боковина прав., задн. наружн. часть | |
1 | 5***4 | Боковина лев., задн. наружн. часть | |
2 | 0***7 | Накладка декоративная задн. прав. крыла | |
2 | 0***8 | Накладка декоративная задн. лев. крыла | |
3 | 0***3 | Замок бокового стекла | |
3 | 0***5 | Замок бокового стекла | |
4 | 0***2 | Стекло боковины прав. | |
4 | 0***3 | Стекло боковины лев. | |
5 | 0***5 | Уплотнитель лев. стекла | |
5 | 0***6 | Уплотнитель прав. бокового стекла | |
6 | 0***8 | Стекло боковины передн. прав. | |
6 | 0***9 | Стекло боковины передн. лев. | |
7 | 0***4 | Накладка декоративная боков. стекла передн. лев. | |
7 | 0***0 | Накладка декоративная боков. стекла передн. прав. |
Содержащиеся в справочниках-каталогах запасные части и детали не предлагаются к продаже, а носят исключительно информационный характер. В демо-версии артикулы (номера деталей) скрыты. Если вы хотите видеть полные оригинальные номера запчастей, вам необходимо зарегистрироваться на нашем сайте и приобрести подписку по интересующей вас конфигурации, после этого вы сможете встроить онлайн-каталоги на ваш сайт или пользоваться ими из личного кабинета нашего сайта. Обращаем ваше внимание на то, что каталоги содержат информацию об оригинальных заводских номерах и названиях запчастей. База по аналогам в данный момент не реализована. Поиска по VIN-номерам в онлайн-каталоге не предусмотрено. Выбор конкретного каталога осуществляется путем открытия нужного типа техники, марки, модели с учетом года выпуска или модификации.