Каталог запасных частей к технике: Opel Arena 1.9 D (2012). Фургон: облицовка боковины, стойки

16
11
11
12
13
14
14
15
15
10
16
17
18
18
19
19
20
20
6
1
2
2
3
3
4
5
5
1
6
7
7
8
8
9
9
10
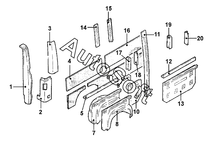
Позиция на иллюстрации | Заводской номер детали | Название детали | |
---|---|---|---|
1 | 4***9 | Стойка задн. лев., внутр. часть | |
1 | 4***0 | Стойка задн. прав. внутр. | |
2 | 4***6 | Усилитель задн. лев. стойки нижн. | |
2 | 4***7 | Усилитель задн. прав. стойки нижн. | |
3 | 4***0 | Усилитель задн. прав. стойки верхн. | |
3 | 4***1 | Усилитель задн. лев. стойки верхн. | |
4 | 4***9 | Облицовка боковины задн. лев. верхн. | |
5 | 4***9 | Усилитель арки задн. прав. колеса | |
5 | 4***9 | Усилитель арки задн. лев. колеса | |
6 | 4***3 | Облицовка боковины передн. лев. нижн. | |
6 | 4***5 | Облицовка боковины передн. прав. нижн. | |
7 | 4***1 | Арка задн. колеса лев. | |
7 | 4***2 | Арка задн. колеса прав. | |
8 | 4***2 | Арка задн. колеса лев. наружн. | |
8 | 4***3 | Арка задн. колеса прав. наружн. | |
9 | 4***6 | Усилитель задн. поперечины лев. | |
9 | 4***7 | Усилитель поперечины задн. прав. | |
10 | 4***0 | Усилитель арки колеса передн. прав. нижн. | |
10 | 4***3 | Усилитель арки колеса передн. лев. нижн. | |
11 | -***- | Проставка лев. внутр. | |
11 | 4***6 | Проставка прав. внутр. | |
12 | 4***9 | Усилитель арки задн. лев. колеса | |
13 | 4***0 | Боковина лев., передн. внутр. часть | |
14 | 4***1 | Усилитель боковины задн. прав., передн. часть | |
14 | 4***1 | Усилитель боковины задн. лев., передн. часть | |
15 | 4***0 | Усилитель боковины задн. прав., передн. часть | |
15 | 4***0 | Усилитель боковины задн. лев., передн. часть | |
16 | 4***5 | Облицовка боковины, передн. лев. верхн. | |
16 | 4***5 | Облицовка боковины передн. прав. верхн. | |
17 | 4***9 | Усилитель боковины задн. лев. верхн. | |
18 | 4***8 | Усилитель боковины задн. прав. верхн. | |
18 | 4***8 | Усилитель боковины задн. лев. верхн. | |
19 | 4***9 | Усилитель боковины передн. прав. | |
19 | 4***9 | Усилитель боковины передн. лев. | |
20 | 4***8 | Усилитель боковины передн. прав. | |
20 | 4***8 | Усилитель боковины передн. лев. |
Содержащиеся в справочниках-каталогах запасные части и детали не предлагаются к продаже, а носят исключительно информационный характер. В демо-версии артикулы (номера деталей) скрыты. Если вы хотите видеть полные оригинальные номера запчастей, вам необходимо зарегистрироваться на нашем сайте и приобрести подписку по интересующей вас конфигурации, после этого вы сможете встроить онлайн-каталоги на ваш сайт или пользоваться ими из личного кабинета нашего сайта. Обращаем ваше внимание на то, что каталоги содержат информацию об оригинальных заводских номерах и названиях запчастей. База по аналогам в данный момент не реализована. Поиска по VIN-номерам в онлайн-каталоге не предусмотрено. Выбор конкретного каталога осуществляется путем открытия нужного типа техники, марки, модели с учетом года выпуска или модификации.