Каталог запасных частей к технике: Opel Arena 1.9 D (2012). Дверь фургона

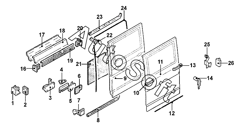
16
26
25
24
23
22
21
21
20
20
19
19
18
17
16
1
14
13
12
11
10
9
8
7
7
6
5
4
3
2
Позиция на иллюстрации | Заводской номер детали | Название детали | |
---|---|---|---|
1 | 4***3 | Защелка задн. лев. замка | |
2 | 4***3 | Пластина/плата замка задн. лев. | |
3 | 4***2 | Замок сдвижной двери лев. | |
4 | 4***8 | Фиксатор лев. сдвижной двери | |
5 | 4***1 | Кронштейн лев. свижной двери средн. | |
6 | 4***2 | Накладка лев. сдвижной двери | |
7 | 4***0 | Кронштейн лев. свижной двери нижн. | |
7 | 4***1 | Кронштейн прав. сдвижной двери нижн. | |
8 | 4***6 | Накладка лев. сдвижной двери нижн. | |
9 | 4***2 | Дверь сдвижная лев. | |
10 | 4***9 | Ручка сдвижной двери лев. наружн. | |
11 | 4***0 | Панель сдвижной двери лев. наружн. | |
12 | 4***7 | Уплотнитель лев. сдвижной двери нижн. | |
13 | 4***2 | Ручка сдвижной двери лев. наружн. | |
14 | 4***9 | Цилиндр задн. лев. замка | |
16 | 4***7 | Крышка задн. прав. | |
16 | 4***7 | Крышка задн. лев. | |
17 | 4***6 | Усилитель лев. | |
18 | 4***5 | Усилитель лев. | |
19 | 4***2 | Облицовка направляющей прав. | |
19 | 4***2 | Облицовка направляющей лев. | |
20 | 4***6 | Крышка передн. прав. | |
20 | 4***6 | Крышка передн. лев. | |
21 | 4***5 | Облицовка сдвижной двери лев. | |
21 | 4***3 | Облицовка сдвижной двери прав. | |
22 | 4***9 | Кронштейн лев. сдвижной двери верхн. | |
23 | 4***5 | Накладка лев. сдвижной двери верхн. | |
24 | 4***4 | Уплотнитель лев. сдвижной двери | |
25 | 4***1 | Ручка сдвижной двери лев. внутр. | |
26 | 4***8 | Двигатель центрального замка задн. лев. двери |
Содержащиеся в справочниках-каталогах запасные части и детали не предлагаются к продаже, а носят исключительно информационный характер. В демо-версии артикулы (номера деталей) скрыты. Если вы хотите видеть полные оригинальные номера запчастей, вам необходимо зарегистрироваться на нашем сайте и приобрести подписку по интересующей вас конфигурации, после этого вы сможете встроить онлайн-каталоги на ваш сайт или пользоваться ими из личного кабинета нашего сайта. Обращаем ваше внимание на то, что каталоги содержат информацию об оригинальных заводских номерах и названиях запчастей. База по аналогам в данный момент не реализована. Поиска по VIN-номерам в онлайн-каталоге не предусмотрено. Выбор конкретного каталога осуществляется путем открытия нужного типа техники, марки, модели с учетом года выпуска или модификации.