Каталог запасных частей к технике: Opel Arena 1.9 D (2012). Фургон: крыша, боковина

9
11
8
16
16
15
15
14
13
12
10
1
7
6
5
5
4
3
3
2
2
1
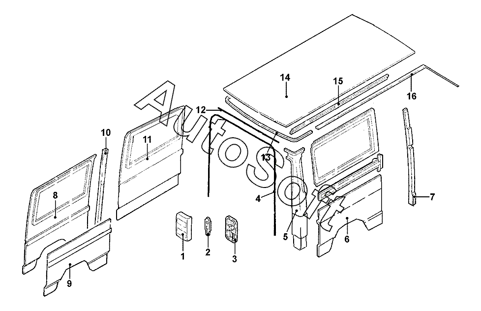
Позиция на иллюстрации | Заводской номер детали | Название детали | |
---|---|---|---|
1 | 4***9 | Стекло задн. прав. фонаря | |
1 | 4***0 | Стекло задн. лев. фонаря | |
2 | 4***1 | Стойка лампы задн. прав. | |
2 | 4***1 | Стойка лампы задн. лев. | |
3 | 4***3 | Щиток задн. прав. | |
3 | 4***3 | Щиток задн. лев. | |
4 | 4***0 | Уплотнитель задн. распашной двери | |
5 | 4***5 | Стойка задн. прав. | |
5 | 4***6 | Стойка задн. лев. | |
6 | 4***4 | Боковина прав., задн. нижн. часть | |
7 | 4***6 | Проставка прав. наружн. | |
8 | 4***2 | Боковина лев., задн. часть | |
9 | 4***5 | Боковина лев., задн. нижн. часть | |
10 | 4***4 | Проставка лев. наружн. | |
11 | 4***9 | Боковина лев., передн. часть | |
12 | 4***0 | Уплотнитель распашной двери верхн. | |
13 | 4***2 | Накладка декоративная крыши задн. | |
14 | 4***1 | Крыша в сборе | |
15 | 4***2 | Рама крыши средн. прав. наружн. | |
15 | 4***8 | Рама крыши средн. лев. наружн. | |
16 | 4***2 | Накладка декоративная крыши передн. прав. | |
16 | 4***2 | Накладка декоративная крыши передн. лев. |
Содержащиеся в справочниках-каталогах запасные части и детали не предлагаются к продаже, а носят исключительно информационный характер. В демо-версии артикулы (номера деталей) скрыты. Если вы хотите видеть полные оригинальные номера запчастей, вам необходимо зарегистрироваться на нашем сайте и приобрести подписку по интересующей вас конфигурации, после этого вы сможете встроить онлайн-каталоги на ваш сайт или пользоваться ими из личного кабинета нашего сайта. Обращаем ваше внимание на то, что каталоги содержат информацию об оригинальных заводских номерах и названиях запчастей. База по аналогам в данный момент не реализована. Поиска по VIN-номерам в онлайн-каталоге не предусмотрено. Выбор конкретного каталога осуществляется путем открытия нужного типа техники, марки, модели с учетом года выпуска или модификации.