Каталог запасных частей к технике: Mercedes Benz C 350 CDI DPF 4Matic BlueEFFICIENCY Spec.Edition 7 (2012). Двигатель/ Система охлаждения 4

1
1
2
3
4
4
5
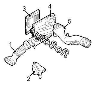
Позиция на иллюстрации | Заводской номер детали | Название детали | |
---|---|---|---|
1 | 6***7 | Шланг воздухозаборника лев. | |
1 | 6***7 | Шланг воздухозаборника прав. | |
2 | 6***7 | Демпфер | |
3 | 6***4 | Элемент фильтрующий воздушного фильтра | |
4 | 6***1 | Фильтр воздушный прав. в сборе | |
4 | 6***1 | Фильтр воздушный лев. в сборе | |
5 | 6***2 | Воздуховод воздушного фильтра передн. |
Содержащиеся в справочниках-каталогах запасные части и детали не предлагаются к продаже, а носят исключительно информационный характер. В демо-версии артикулы (номера деталей) скрыты. Если вы хотите видеть полные оригинальные номера запчастей, вам необходимо зарегистрироваться на нашем сайте и приобрести подписку по интересующей вас конфигурации, после этого вы сможете встроить онлайн-каталоги на ваш сайт или пользоваться ими из личного кабинета нашего сайта. Обращаем ваше внимание на то, что каталоги содержат информацию об оригинальных заводских номерах и названиях запчастей. База по аналогам в данный момент не реализована. Поиска по VIN-номерам в онлайн-каталоге не предусмотрено. Выбор конкретного каталога осуществляется путем открытия нужного типа техники, марки, модели с учетом года выпуска или модификации.