Каталог запасных частей к технике: Mercedes Benz 200 TE (2012). Кузов 3

12
24
18
25
23
22
21
20
19
17
16
16
15
14
13
12
1
11
10
10
9
9
8
8
7
7
6
6
5
4
3
2
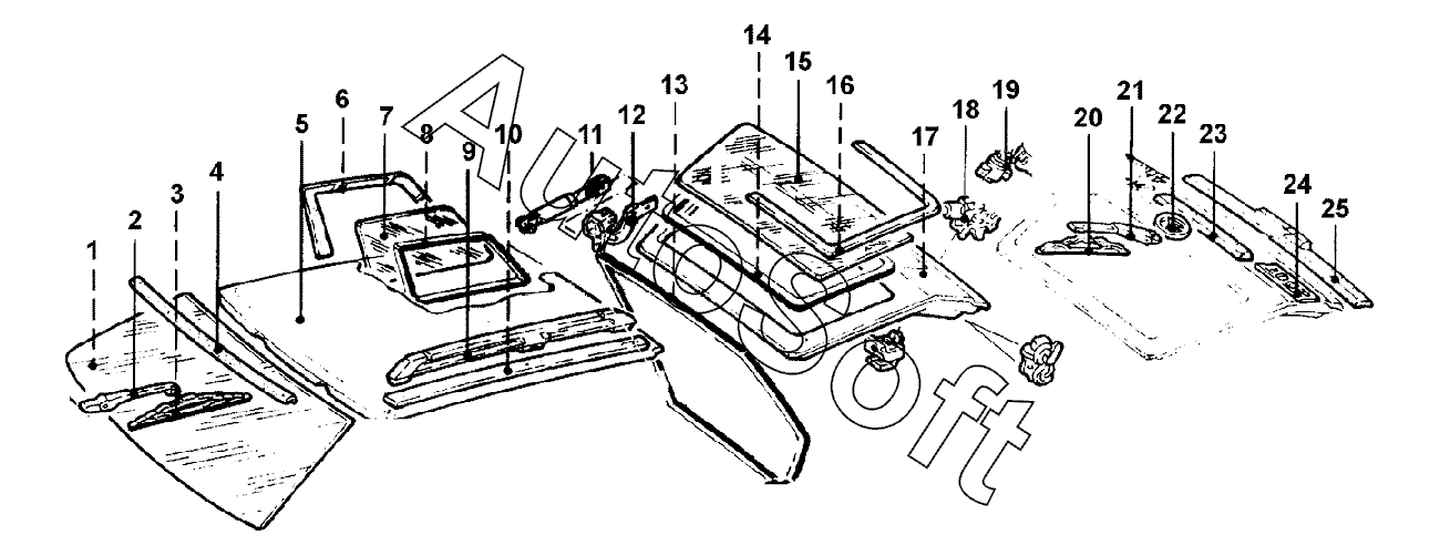
Позиция на иллюстрации | Заводской номер детали | Название детали | |
---|---|---|---|
1 | 1***1 | Стекло лобовое трехслойное | |
2 | 1***4 | Рычаг стеклоочистителя | |
3 | 1***5 | Щетка стеклоочистителя | |
4 | 1***9 | Накладка декоративная лобового стекла верхн. | |
5 | 1***9 | Крыша | |
6 | 1***2 | Рамка облицовочная стекла боковины | |
6 | 1***2 | Рамка облицовочная стекла боковины | |
7 | 1***0 | Стекло боковины лев. | |
7 | 1***0 | Стекло боковины прав. | |
8 | 1***9 | Уплотнитель лев. стекла | |
8 | 1***9 | Уплотнитель прав. бокового стекла | |
9 | 1***9 | Рейка багажника на крыше лев. | |
9 | 1***9 | Рейка багажника на крыше прав. | |
10 | 1***7 | Опора рейки багажника на крыше | |
10 | 1***7 | Опора рейки багажника на крыше | |
11 | 1***4 | Амортизатор задн. лев. | |
12 | 1***7 | Петля двери задка лев. | |
12 | 1***7 | Петля двери задка прав. | |
13 | 1***8 | Уплотнитель двери задка | |
14 | 1***6 | Уплотнитель стекла задка | |
15 | 1***7 | Стекло задка обогрев. | |
16 | 1***9 | Накладка декоративная стекла задка лев. | |
16 | 1***9 | Накладка декоративная стекла задка прав. | |
17 | 1***5 | Дверь задка | |
18 | 1***5 | Замок двери задка | |
19 | 1***5 | Цилиндр задн. замка | |
20 | 1***5 | Щетка стеклоочистителя задка | |
21 | 1***4 | Рычаг стеклоочистителя задн. | |
22 | 1***8 | Звезда-эмблема задн. | |
23 | 1***3 | Накладка ручки двери задка верхн. | |
24 | 1***5 | Надпись задн. | |
25 | 1***3 | Накладка ручки двери задка нижн. |
Содержащиеся в справочниках-каталогах запасные части и детали не предлагаются к продаже, а носят исключительно информационный характер. В демо-версии артикулы (номера деталей) скрыты. Если вы хотите видеть полные оригинальные номера запчастей, вам необходимо зарегистрироваться на нашем сайте и приобрести подписку по интересующей вас конфигурации, после этого вы сможете встроить онлайн-каталоги на ваш сайт или пользоваться ими из личного кабинета нашего сайта. Обращаем ваше внимание на то, что каталоги содержат информацию об оригинальных заводских номерах и названиях запчастей. База по аналогам в данный момент не реализована. Поиска по VIN-номерам в онлайн-каталоге не предусмотрено. Выбор конкретного каталога осуществляется путем открытия нужного типа техники, марки, модели с учетом года выпуска или модификации.