Каталог запасных частей к технике: Mercedes Benz E 320 (2012). Топливная система 1

2
4
5
6
7
8
3
4
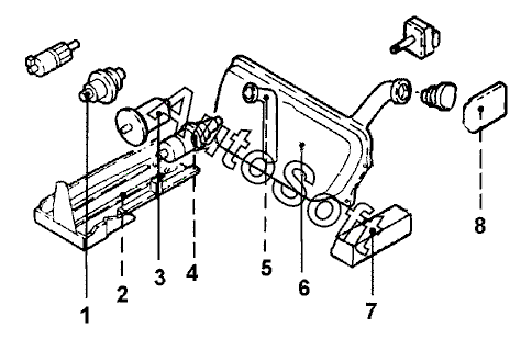
Позиция на иллюстрации | Заводской номер детали | Название детали | |
---|---|---|---|
2 | 1***7 | Кожух защитный задн. прав. | |
3 | 0***1 | Фильтр топливный | |
4 | 0***4 | Электронасос топливный | |
4 | 0***1 | Электронасос топливный | |
5 | 1***4 | Датчик указателя уровня топлива | |
6 | 1***4 | Бак топливный | |
7 | 1***9 | Фильтр угольный | |
8 | 1***6 | Крышка люка наливной горловины топливного бака |
Содержащиеся в справочниках-каталогах запасные части и детали не предлагаются к продаже, а носят исключительно информационный характер. В демо-версии артикулы (номера деталей) скрыты. Если вы хотите видеть полные оригинальные номера запчастей, вам необходимо зарегистрироваться на нашем сайте и приобрести подписку по интересующей вас конфигурации, после этого вы сможете встроить онлайн-каталоги на ваш сайт или пользоваться ими из личного кабинета нашего сайта. Обращаем ваше внимание на то, что каталоги содержат информацию об оригинальных заводских номерах и названиях запчастей. База по аналогам в данный момент не реализована. Поиска по VIN-номерам в онлайн-каталоге не предусмотрено. Выбор конкретного каталога осуществляется путем открытия нужного типа техники, марки, модели с учетом года выпуска или модификации.