Каталог запасных частей к технике: Mercedes Benz E 240 Avantgarde (2012). Обивка передней двери

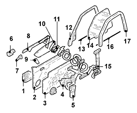
1
10
10
14
14
5
5
17
17
8
1
6
6
9
9
2
2
12
3
4
4
7
7
11
11
12
3
13
13
15
15
16
16
8
Позиция на иллюстрации | Заводской номер детали | Название детали | |
---|---|---|---|
1 | 2***7 | Карман на внутр. панели передн.лев. двери | |
1 | 2***7 | Карман на внутр. панели передн.прав. двери | |
2 | 2***2 | Обивка передн. прав. двери | |
2 | 2***2 | Обивка передн. лев. двери | |
3 | 2***0 | Шумоизоляция передн. прав. двери | |
3 | 2***0 | Шумоизоляция передн. лев. двери | |
4 | 2***6 | Стеклоподъемник передн. лев. | |
4 | 2***6 | Стеклоподъемник передн. прав. | |
5 | 2***2 | Двигатель стеклоподъемника передн. лев. | |
5 | 2***2 | Двигатель стеклоподъемника передн. прав. | |
6 | 2***1 | Поддон передн. лев. ручки | |
6 | 2***1 | Поддон передн. прав. ручки | |
7 | 2***4 | Ручка передн. двери лев. внутр. | |
7 | 2***4 | Ручка передн. двери прав. внутр. | |
8 | 2***9 | Накладка декоративная обивки передн. лев. двери | |
8 | 2***9 | Накладка декоративная обивки передн. прав. двери | |
9 | 2***9 | Ручка передн. двери лев. | |
9 | 2***9 | Ручка передн. двери прав. | |
10 | 2***2 | Облицовка передн. средн. лев. | |
10 | 2***2 | Облицовка передн. средн. прав. | |
11 | 1***1 | Фонарь подсветки проема двери передн. прав. | |
11 | 1***1 | Фонарь подсветки проема двери передн. лев. | |
12 | 2***1 | Облицовка рамки стекла передн. двери лев. внутр. | |
12 | 2***1 | Облицовка рамки стекла передн. двери прав. внутр. | |
13 | 2***5 | Уплотнитель шахты передн. прав. стекла внутр. | |
13 | 2***5 | Уплотнитель шахты передн. лев. стекла внутр. | |
14 | 2***8 | Стекло передн. лев. двери тонир. | |
14 | 2***8 | Стекло передн. прав. двери тонир. | |
15 | 2***5 | Направляющая передн. прав. | |
15 | 2***5 | Направляющая передн. лев. | |
16 | 2***5 | Уплотнитель шахты передн. прав. стекла наружн. | |
16 | 2***5 | Уплотнитель шахты передн. лев. стекла наружн. | |
17 | 2***5 | Направляющая стекла передн. лев. двери | |
17 | 2***5 | Направляющая стекла передн. прав. двери |
Содержащиеся в справочниках-каталогах запасные части и детали не предлагаются к продаже, а носят исключительно информационный характер. В демо-версии артикулы (номера деталей) скрыты. Если вы хотите видеть полные оригинальные номера запчастей, вам необходимо зарегистрироваться на нашем сайте и приобрести подписку по интересующей вас конфигурации, после этого вы сможете встроить онлайн-каталоги на ваш сайт или пользоваться ими из личного кабинета нашего сайта. Обращаем ваше внимание на то, что каталоги содержат информацию об оригинальных заводских номерах и названиях запчастей. База по аналогам в данный момент не реализована. Поиска по VIN-номерам в онлайн-каталоге не предусмотрено. Выбор конкретного каталога осуществляется путем открытия нужного типа техники, марки, модели с учетом года выпуска или модификации.