Каталог запасных частей к технике: Mercedes Benz E 200 T Kompressor Elegance (2012). Двигатель/ Система охлаждения 6

10
22
21
20
18
17
15
15
14
12
11
2
9
8
7
6
5
3
1
23
19
13
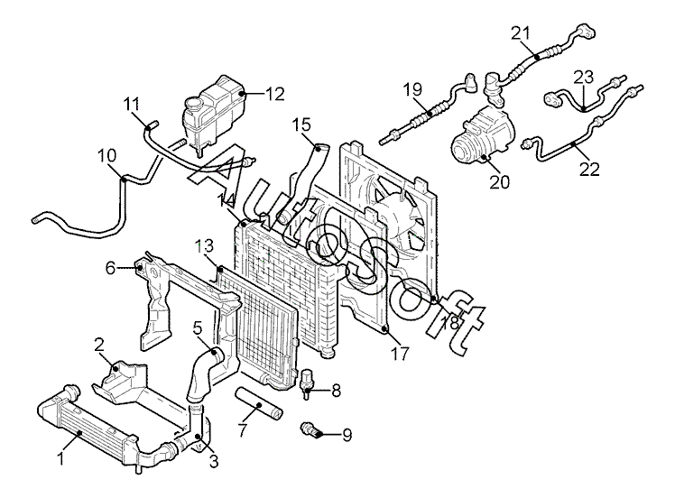
Позиция на иллюстрации | Заводской номер детали | Название детали | |
---|---|---|---|
1 | 2***2 | Охладитель наддувочного воздуха | |
2 | 2***0 | Воздуховод радиатора нижн. | |
3 | 2***2 | Труба наддувочного воздуха прав. нижн. | |
5 | 2***7 | Шланг воздушный верхн. | |
6 | 2***6 | Воздуховод радиатора верхн. | |
7 | 2***7 | Баллон осушителя | |
8 | 2***2 | Датчик температуры | |
9 | 2***3 | Датчик давления | |
10 | 2***2 | Трубопровод расширительного бачка | |
11 | 2***5 | Труба воздухозаборника верхн. | |
12 | 2***9 | Бачок расширительный | |
13 | 2***4 | Конденсатор | |
14 | 2***2 | Радиатор | |
15 | 2***2 | Шланг радиатора верхн. | |
15 | 2***2 | Шланг радиатора нижн. | |
17 | 2***5 | Кожух вентилятора | |
18 | 2***3 | Вентилятор в сборе | |
19 | 2***5 | Трубопровод компрессора/осушителя | |
20 | 0***1 | Компрессор кондиционера | |
21 | 2***5 | Трубопровод компрессора/переходника | |
22 | 2***5 | Трубопровод бачка/расширительного клапана | |
23 | 2***5 | Трубопровод переходника/расширительного клапана |
Содержащиеся в справочниках-каталогах запасные части и детали не предлагаются к продаже, а носят исключительно информационный характер. В демо-версии артикулы (номера деталей) скрыты. Если вы хотите видеть полные оригинальные номера запчастей, вам необходимо зарегистрироваться на нашем сайте и приобрести подписку по интересующей вас конфигурации, после этого вы сможете встроить онлайн-каталоги на ваш сайт или пользоваться ими из личного кабинета нашего сайта. Обращаем ваше внимание на то, что каталоги содержат информацию об оригинальных заводских номерах и названиях запчастей. База по аналогам в данный момент не реализована. Поиска по VIN-номерам в онлайн-каталоге не предусмотрено. Выбор конкретного каталога осуществляется путем открытия нужного типа техники, марки, модели с учетом года выпуска или модификации.