Каталог запасных частей к технике: Mercedes Benz E 350 Coupe CDI DPF BlueEFFICIENCY Elegance 7G-Tro (2012). Кузов 11

6
10
10
9
9
8
8
7
7
6
1
5
5
4
4
3
3
2
2
1
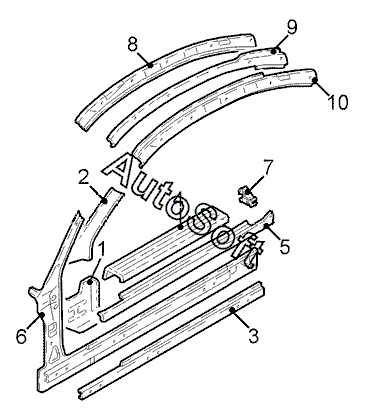
Позиция на иллюстрации | Заводской номер детали | Название детали | |
---|---|---|---|
1 | 2***1 | Облицовка лев. стойки передка нижн. | |
1 | 2***1 | Облицовка прав. стойки передка нижн. | |
2 | 2***0 | Облицовка лев. стойки передка верхн. | |
2 | 2***0 | Облицовка прав. стойки передка верхн. | |
3 | 2***0 | Усилитель лев. лонжерона | |
3 | 2***0 | Усилитель прав. лонжерона | |
4 | 2***1 | Накладка порога передн. лев. внутр. | |
4 | 2***1 | Накладка порога передн. прав. внутр. | |
5 | 2***1 | Облицовка передн. лев. порога | |
5 | 2***1 | Облицовка передн. прав. порога | |
6 | 2***0 | Стойка передка лев. внутр. | |
6 | 2***0 | Стойка передка прав. внутр. | |
7 | 2***6 | Датчик на средн. прав. стойке | |
7 | 2***6 | Датчик на средн. лев. стойке | |
8 | 2***5 | Рама крыши лев. внутр. часть | |
8 | 2***5 | Рама крыши прав. внутр. часть | |
9 | 2***6 | Усилитель рамы крыши лев. внутр. | |
9 | 2***6 | Усилитель рамы крыши прав. внутр. | |
10 | 2***7 | Рама крыши лев. часть | |
10 | 2***7 | Рама крыши прав. часть |
Содержащиеся в справочниках-каталогах запасные части и детали не предлагаются к продаже, а носят исключительно информационный характер. В демо-версии артикулы (номера деталей) скрыты. Если вы хотите видеть полные оригинальные номера запчастей, вам необходимо зарегистрироваться на нашем сайте и приобрести подписку по интересующей вас конфигурации, после этого вы сможете встроить онлайн-каталоги на ваш сайт или пользоваться ими из личного кабинета нашего сайта. Обращаем ваше внимание на то, что каталоги содержат информацию об оригинальных заводских номерах и названиях запчастей. База по аналогам в данный момент не реализована. Поиска по VIN-номерам в онлайн-каталоге не предусмотрено. Выбор конкретного каталога осуществляется путем открытия нужного типа техники, марки, модели с учетом года выпуска или модификации.