Каталог запасных частей к технике: Mercedes Benz E 350 Coupe CGI BlueEFFICIENCY Prime Edition 7G-Tr (2012). Двигатель/ Система охлаждения 5

6
20
21
23
23
26
27
28
29
19
7
14
16
17
22
24
25
1
18
15
15
13
12
11
11
10
10
9
9
5
4
3
2
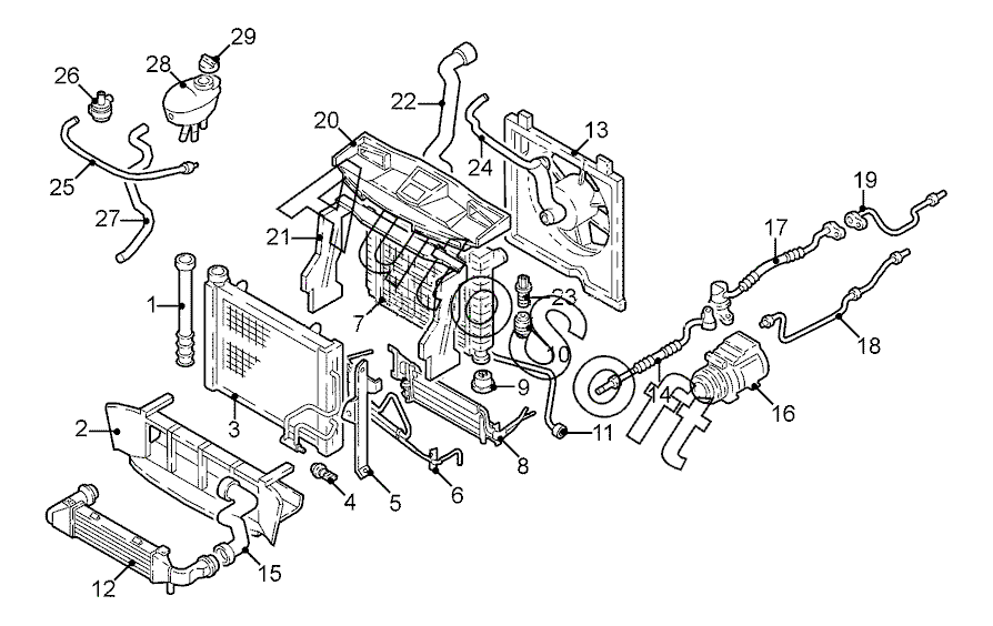
Позиция на иллюстрации | Заводской номер детали | Название детали | |
---|---|---|---|
1 | 2***7 | Баллон осушителя | |
2 | 2***0 | Воздуховод радиатора нижн. | |
3 | 2***4 | Конденсатор кондиционера | |
4 | 2***3 | Датчик давления | |
5 | 2***0 | К-кт креплений конденсатора | |
6 | 2***4 | Труба охлаждающая рулевого механизма | |
7 | 2***3 | Радиатор | |
9 | 2***4 | Кронштейн ремонтный прав. нижн. | |
9 | 2***4 | Кронштейн ремонтный лев. нижн. | |
10 | 1***4 | Опора прав. верхн. | |
10 | 1***4 | Опора лев. верхн. | |
11 | 2***4 | Трубопровод масляный верхн. | |
11 | 2***4 | Трубопровод масляный нижн. | |
12 | 2***0 | Охладитель наддувочного воздуха | |
13 | 2***3 | Вентиляция | |
14 | 2***5 | Трубопровод компрессора/осушителя | |
15 | 2***2 | Шланг наддувочного воздуха лев. нижн. | |
15 | 2***2 | Труба наддувочного воздуха прав. нижн. | |
16 | 0***1 | Компрессор кондиционера | |
17 | 2***5 | Трубопровод компрессора/переходника | |
18 | 2***5 | Трубопровод бачка/расширительного клапана | |
19 | 2***5 | Трубопровод переходника/расширительного клапана | |
20 | 2***5 | Воздуховод радиатора верхн. | |
21 | 2***0 | Воздуховод | |
22 | 2***2 | Шланг радиатора прав. нижн. | |
23 | 0***5 | Зажим пружинный прав. | |
23 | 0***5 | Зажим пружинный лев. | |
24 | 2***2 | Шланг радиатора лев. верхн. | |
25 | 2***5 | Труба воздухозаборника верхн. | |
26 | 2***4 | Насос, обеспечивающий циркуляцию | |
27 | 2***2 | Трубопровод расширительного бачка | |
28 | 2***9 | Бачок расширительный | |
29 | 0***5 | Пробка радиатора |
Содержащиеся в справочниках-каталогах запасные части и детали не предлагаются к продаже, а носят исключительно информационный характер. В демо-версии артикулы (номера деталей) скрыты. Если вы хотите видеть полные оригинальные номера запчастей, вам необходимо зарегистрироваться на нашем сайте и приобрести подписку по интересующей вас конфигурации, после этого вы сможете встроить онлайн-каталоги на ваш сайт или пользоваться ими из личного кабинета нашего сайта. Обращаем ваше внимание на то, что каталоги содержат информацию об оригинальных заводских номерах и названиях запчастей. База по аналогам в данный момент не реализована. Поиска по VIN-номерам в онлайн-каталоге не предусмотрено. Выбор конкретного каталога осуществляется путем открытия нужного типа техники, марки, модели с учетом года выпуска или модификации.