Каталог запасных частей к технике: Mercedes Benz E 350 Coupe CGI BlueEFFICIENCY Prime Edition 7G-Tr (2012). Кузов 15

9
7
12
14
13
11
11
10
10
1
8
6
5
4
3
2
2
1
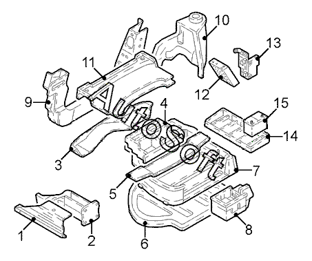
Позиция на иллюстрации | Заводской номер детали | Название детали | |
---|---|---|---|
1 | 2***1 | Основание задн. прав. | |
1 | 2***1 | Основание задн. лев. | |
2 | 2***6 | Заглушка задн. лев. | |
2 | 2***6 | Заглушка задн. прав. | |
3 | 2***5 | Заглушка задн. основания средн. | |
4 | 2***3 | Отделение для вещей основания багажника | |
5 | 2***1 | Шумоизоляция багажника | |
6 | 2***5 | Поддон для запасного колеса | |
7 | 2***1 | Облицовка платформы для запасного колеса | |
8 | 2***4 | Отделение для инструментов | |
9 | 2***4 | Поперечина основания багажника | |
10 | 2***1 | Шумоизоляция арки лев. колеса | |
10 | 2***1 | Шумоизоляция арки прав. колеса | |
11 | 2***1 | Облицовка основания багажника передн. | |
11 | 2***8 | Облицовка основания багажника задн. | |
12 | 1***2 | Модулятор камеры задн. хода | |
13 | 2***4 | Блок управления SAM задн. | |
14 | 2***8 | Поддон аккумуляторной батареи |
Содержащиеся в справочниках-каталогах запасные части и детали не предлагаются к продаже, а носят исключительно информационный характер. В демо-версии артикулы (номера деталей) скрыты. Если вы хотите видеть полные оригинальные номера запчастей, вам необходимо зарегистрироваться на нашем сайте и приобрести подписку по интересующей вас конфигурации, после этого вы сможете встроить онлайн-каталоги на ваш сайт или пользоваться ими из личного кабинета нашего сайта. Обращаем ваше внимание на то, что каталоги содержат информацию об оригинальных заводских номерах и названиях запчастей. База по аналогам в данный момент не реализована. Поиска по VIN-номерам в онлайн-каталоге не предусмотрено. Выбор конкретного каталога осуществляется путем открытия нужного типа техники, марки, модели с учетом года выпуска или модификации.