Каталог запасных частей к технике: Mercedes Benz S 500 (2012). Дверь передняя

27
19
20
20
21
21
22
22
23
23
24
24
25
25
19
27
17
17
5
5
7
7
8
8
11
26
26
11
1
2
2
3
3
4
4
5
5
9
9
10
10
1
12
12
13
13
14
14
15
15
16
16
18
18
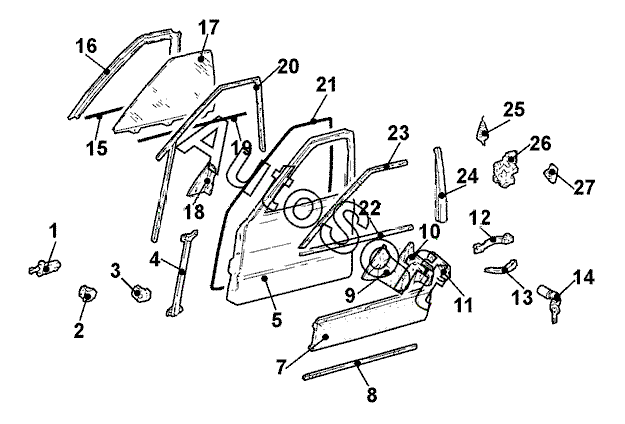
Позиция на иллюстрации | Заводской номер детали | Название детали | |
---|---|---|---|
1 | 1***6 | Ограничитель передн. прав. двери | |
1 | 1***6 | Ограничитель передн. лев. двери | |
2 | 2***7 | Петля передн. прав. двери нижн. | |
2 | 2***7 | Петля передн. лев. двери нижн. | |
3 | 2***7 | Петля передн. прав. двери верхн. | |
3 | 2***7 | Петля передн. лев. двери верхн. | |
4 | 1***5 | Направляющая передн. лев. | |
4 | 1***5 | Направляющая передн. прав. | |
5 | 1***9 | Облицовка передн. лев. двери | |
5 | 1***9 | Облицовка передн. прав. двери | |
5 | 1***5 | Дверь передн. лев. | |
5 | 1***5 | Дверь передн. прав. | |
7 | 1***8 | Накладка передн. лев. двери | |
7 | 1***2 | Накладка передн. прав. двери | |
8 | 1***0 | Накладка декоративная передн. лев. двери | |
8 | 1***0 | Накладка декоративная передн. прав. двери | |
9 | 1***1 | Корпус лев. зеркала | |
9 | 1***3 | Корпус прав. зеркала | |
10 | 1***3 | Зеркало лев. без корпуса | |
10 | 1***6 | Зеркало прав. без корпуса | |
11 | 1***1 | Стекло лев. наружн. зеркала | |
11 | 1***1 | Стекло прав. наружн. зеркала | |
12 | 1***7 | Пластина прав. наружн. ручки | |
12 | 1***7 | Пластина лев. наружн. ручки | |
13 | 1***0 | Ручка передн. двери прав. наружн. | |
13 | 1***0 | Ручка передн. двери лев. наружн. | |
14 | 1***7 | Цилиндр передн. прав. замка | |
14 | 1***7 | Цилиндр передн. лев. замка | |
15 | 1***5 | Уплотнитель передн. лев. стекла внутр. | |
15 | 1***5 | Уплотнитель передн. прав. стекла внутр. | |
16 | 1***9 | Облицовка рамки стекла передн. двери лев. внутр. | |
16 | 1***9 | Облицовка рамки стекла передн. двери прав. внутр. | |
17 | 1***8 | Стекло передн. лев. двери тонир. | |
17 | 1***8 | Стекло передн. прав. двери тонир. | |
18 | 1***1 | Пластина облицовочная лев. внутр. | |
18 | 1***1 | Пластина облицовочная прав. внутр. | |
19 | 1***4 | Уплотнитель передн. прав. стекла наружн. | |
19 | 1***4 | Уплотнитель передн. лев. стекла наружн. | |
20 | 1***7 | Направляющая стекла передн. лев. двери | |
20 | 1***7 | Направляющая стекла передн. прав. двери | |
21 | 1***8 | Уплотнитель передн. лев. двери | |
21 | 1***8 | Уплотнитель передн. прав. двери | |
22 | 1***0 | Накладка декоративная бортов. окантовки перед.лев. | |
22 | 1***0 | Накладка декоративная бортов. окантовки перед.пр. | |
23 | 1***0 | Накладка декоративная рамы передн. лев. стекла | |
23 | 1***0 | Накладка декоративная рамы передн. прав. стекла | |
24 | 1***7 | Накладка декоративная рамки пер. лев. стекла задн. | |
24 | 1***7 | Накладка декоративная рамки пер.прав. стекла задн. | |
25 | 1***5 | Элемент вакуумный передн. прав. | |
25 | 1***5 | Элемент вакуумный передн. лев. | |
26 | 1***5 | Замок передн. лев. двери | |
26 | 1***5 | Замок передн. прав. двери | |
27 | 2***4 | Штырь замка передн. прав. двери | |
27 | 2***4 | Штырь замка передн. лев. двери |
Содержащиеся в справочниках-каталогах запасные части и детали не предлагаются к продаже, а носят исключительно информационный характер. В демо-версии артикулы (номера деталей) скрыты. Если вы хотите видеть полные оригинальные номера запчастей, вам необходимо зарегистрироваться на нашем сайте и приобрести подписку по интересующей вас конфигурации, после этого вы сможете встроить онлайн-каталоги на ваш сайт или пользоваться ими из личного кабинета нашего сайта. Обращаем ваше внимание на то, что каталоги содержат информацию об оригинальных заводских номерах и названиях запчастей. База по аналогам в данный момент не реализована. Поиска по VIN-номерам в онлайн-каталоге не предусмотрено. Выбор конкретного каталога осуществляется путем открытия нужного типа техники, марки, модели с учетом года выпуска или модификации.