Каталог запасных частей к технике: Mercedes Benz S 500 (2012). Дверь задняя

20
14
14
16
16
17
17
18
18
19
19
13
20
21
21
15
15
7
7
8
8
6
1
2
2
3
3
4
4
4
4
6
1
9
9
10
10
11
11
12
12
13
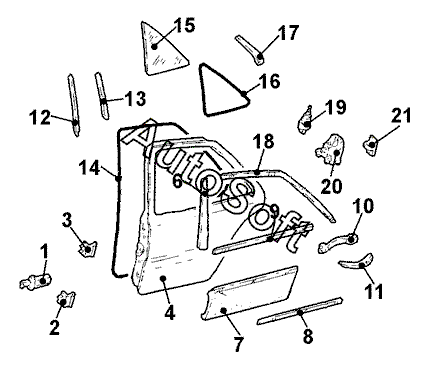
Позиция на иллюстрации | Заводской номер детали | Название детали | |
---|---|---|---|
1 | 1***6 | Ограничитель задн. прав. двери | |
1 | 1***6 | Ограничитель задн. лев. двери | |
2 | 1***7 | Петля задн. лев. двери нижн. | |
2 | 1***7 | Петля задн. прав. двери нижн. | |
3 | 1***7 | Петля задн. лев. двери верхн. | |
3 | 1***7 | Петля задн. прав. двери верхн. | |
4 | 1***5 | Дверь задн. лев. | |
4 | 1***9 | Панель задн. лев. двери наружн. | |
4 | 1***5 | Дверь задн. прав. | |
4 | 1***9 | Панель задн. прав. двери наружн. | |
6 | 1***7 | Накладка декоративная стекла задн. лев. двери | |
6 | 1***7 | Накладка декоративная стекла задн. прав. двери | |
7 | 1***8 | Накладка задн. лев. двери | |
7 | 1***2 | Накладка задн. прав. двери | |
8 | 1***0 | Накладка декоративная задн. лев. двери | |
8 | 1***0 | Накладка декоративная задн. прав. двери | |
9 | 1***0 | Накладка декоративная бортовой окантовки задн.лев. | |
9 | 1***0 | Накладка декоративная бортовой окантовки зад.прав. | |
10 | 1***7 | Пластина прав. наружн. ручки | |
10 | 1***7 | Пластина лев. наружн. ручки | |
11 | 1***0 | Ручка задн. лев. двери наружн. | |
11 | 1***0 | Ручка задн. двери прав. наружн. | |
12 | 1***9 | Распорка окна задн. лев. двери | |
12 | 1***9 | Распорка окна задн. прав. двери | |
13 | 1***7 | Облицовка лев. направляющей стекла | |
13 | 1***7 | Облицовка прав. направляющей стекла | |
14 | 1***8 | Уплотнитель задн. лев. двери | |
14 | 1***8 | Уплотнитель задн. прав. двери | |
15 | 1***0 | Стекло треугольное задн. тонир. | |
15 | 1***0 | Стекло треугольное задн. тонир. | |
16 | 1***4 | Уплотнитель лев. треугольного стекла | |
16 | 1***4 | Уплотнитель прав. треугольного стекла | |
17 | 1***4 | Облицовка рамки окна задн. двери задн. лев. | |
17 | 1***4 | Облицовка рамки окна задн. двери задн. прав. | |
18 | 1***0 | Накладка декоративная рамы стекла задн. лев. | |
18 | 1***0 | Накладка декоративная рамы стекла задн. прав. | |
19 | 1***5 | Элемент вакуумный задн. прав. | |
19 | 1***5 | Элемент вакуумный задн. лев. | |
20 | 1***5 | Замок задн. лев. двери | |
20 | 1***5 | Замок задн. прав. двери | |
21 | 2***4 | Штырь замка задн. прав. двери | |
21 | 2***4 | Штырь замка задн. лев. двери |
Содержащиеся в справочниках-каталогах запасные части и детали не предлагаются к продаже, а носят исключительно информационный характер. В демо-версии артикулы (номера деталей) скрыты. Если вы хотите видеть полные оригинальные номера запчастей, вам необходимо зарегистрироваться на нашем сайте и приобрести подписку по интересующей вас конфигурации, после этого вы сможете встроить онлайн-каталоги на ваш сайт или пользоваться ими из личного кабинета нашего сайта. Обращаем ваше внимание на то, что каталоги содержат информацию об оригинальных заводских номерах и названиях запчастей. База по аналогам в данный момент не реализована. Поиска по VIN-номерам в онлайн-каталоге не предусмотрено. Выбор конкретного каталога осуществляется путем открытия нужного типа техники, марки, модели с учетом года выпуска или модификации.