Каталог запасных частей к технике: Mercedes Benz S 600 L (2012). Передняя часть кузова: капот, лобовое стекло

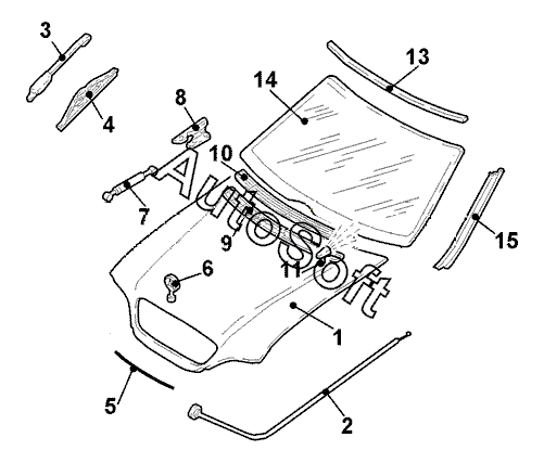
8
15
15
14
13
11
11
11
10
9
8
1
7
7
6
5
4
4
3
3
2
Позиция на иллюстрации | Заводской номер детали | Название детали | |
---|---|---|---|
1 | 2***7 | Капот | |
2 | 2***9 | Тросик открывания капота | |
3 | 2***4 | Рычаг стеклоочистителя лев. | |
3 | 2***4 | Рычаг стеклоочистителя прав. | |
4 | 2***5 | Щетка стеклоочистителя прав. | |
4 | 2***5 | Щетка стеклоочистителя лев. | |
5 | 2***8 | Уплотнитель капота передн. | |
6 | 2***6 | Звезда-эмблема передн. | |
7 | 2***9 | Амортизатор передн. прав. | |
7 | 2***9 | Амортизатор передн. лев. | |
8 | 2***8 | Петля крышки лев. | |
8 | 2***8 | Петля крышки прав. | |
9 | 2***5 | Рама крышки передн. | |
10 | 2***0 | Решетка капота | |
11 | 2***7 | Форсунка омывателя лев. | |
11 | 2***7 | Форсунка омывателя прав. | |
11 | 2***7 | Форсунка омывателя стекла средн. | |
13 | 2***2 | Накладка декоративная лобового стекла верхн. | |
14 | 2***1 | Стекло лобовое трехслойное тонир. | |
15 | 2***9 | Накладка декоративная обтекателя передн. лев. | |
15 | 2***9 | Накладка декоративная обтекателя передн. прав. |
Содержащиеся в справочниках-каталогах запасные части и детали не предлагаются к продаже, а носят исключительно информационный характер. В демо-версии артикулы (номера деталей) скрыты. Если вы хотите видеть полные оригинальные номера запчастей, вам необходимо зарегистрироваться на нашем сайте и приобрести подписку по интересующей вас конфигурации, после этого вы сможете встроить онлайн-каталоги на ваш сайт или пользоваться ими из личного кабинета нашего сайта. Обращаем ваше внимание на то, что каталоги содержат информацию об оригинальных заводских номерах и названиях запчастей. База по аналогам в данный момент не реализована. Поиска по VIN-номерам в онлайн-каталоге не предусмотрено. Выбор конкретного каталога осуществляется путем открытия нужного типа техники, марки, модели с учетом года выпуска или модификации.