Каталог запасных частей к технике: Mercedes Benz S 430 4Matic (2012). Обивка задней двери

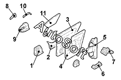
7
11
11
3
3
9
9
10
10
8
8
1
7
6
6
5
5
4
4
2
2
1
Позиция на иллюстрации | Заводской номер детали | Название детали | |
---|---|---|---|
1 | 2***6 | Накладка динамика задн. лев. | |
1 | 2***6 | Накладка динамика задн. прав. | |
2 | 2***1 | Карман на внутр. панели задн.лев. двери | |
2 | 2***1 | Карман на внутр. панели задн.прав. двери | |
3 | 2***9 | Обивка задн. лев. двери | |
3 | 2***9 | Обивка задн. прав. двери | |
4 | 2***0 | Шумоизоляция задн. лев. двери | |
4 | 2***0 | Шумоизоляция задн. прав. двери | |
5 | 2***6 | Стеклоподъемник задн. лев. | |
5 | 2***6 | Стеклоподъемник задн. прав. | |
6 | 2***1 | Фонарь подсветки проема двери прав. | |
6 | 2***1 | Фонарь подсветки проема двери лев. | |
7 | 2***2 | Двигатель задн. лев. стеклоподъемника | |
7 | 2***2 | Двигатель задн. прав. стеклоподъемника | |
8 | 2***4 | Ручка задн. двери лев. внутр. | |
8 | 2***4 | Ручка задн. двери прав. внутр. | |
9 | 2***4 | Облицовка обивки задн. лев. двери | |
9 | 2***4 | Облицовка обивки задн. прав. двери | |
10 | 2***2 | Накладка декоративная обивки задн. лев. двери | |
10 | 2***2 | Накладка декоративная обивки задн. прав. двери | |
11 | 2***9 | Облицовка задн. средн. лев. | |
11 | 2***9 | Облицовка задн. средн. прав. |
Содержащиеся в справочниках-каталогах запасные части и детали не предлагаются к продаже, а носят исключительно информационный характер. В демо-версии артикулы (номера деталей) скрыты. Если вы хотите видеть полные оригинальные номера запчастей, вам необходимо зарегистрироваться на нашем сайте и приобрести подписку по интересующей вас конфигурации, после этого вы сможете встроить онлайн-каталоги на ваш сайт или пользоваться ими из личного кабинета нашего сайта. Обращаем ваше внимание на то, что каталоги содержат информацию об оригинальных заводских номерах и названиях запчастей. База по аналогам в данный момент не реализована. Поиска по VIN-номерам в онлайн-каталоге не предусмотрено. Выбор конкретного каталога осуществляется путем открытия нужного типа техники, марки, модели с учетом года выпуска или модификации.