Каталог запасных частей к технике: Mercedes Benz SL 320 (2012). Двери 1

17
12
12
13
13
14
14
15
15
16
16
11
17
18
18
19
19
20
21
21
22
22
6
1
2
2
3
3
4
4
5
5
6
1
7
7
8
8
9
9
10
10
11
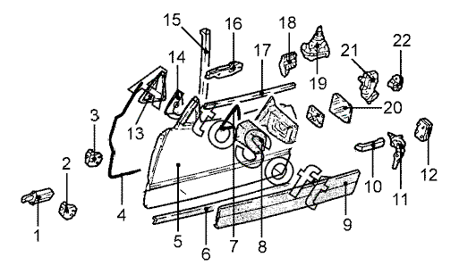
Позиция на иллюстрации | Заводской номер детали | Название детали | |
---|---|---|---|
1 | 1***6 | Ограничитель двери прав. | |
1 | 1***6 | Ограничитель двери лев. | |
2 | 1***7 | Петля прав. двери нижн. | |
2 | 1***7 | Петля двери лев. нижн. | |
3 | 1***7 | Петля двери прав. верхн. | |
3 | 1***7 | Петля двери лев. верхн. | |
4 | 1***8 | Уплотнитель двери лев. | |
4 | 1***8 | Уплотнитель двери прав. | |
5 | 1***5 | Дверь лев. | |
5 | 1***5 | Дверь прав. | |
6 | 1***7 | Накладка прав. двери нижн. | |
6 | 1***7 | Накладка лев. двери нижн. | |
7 | 1***8 | Уплотнитель лев. зеркала | |
7 | 1***8 | Уплотнитель прав. зеркала | |
8 | 1***3 | Корпус лев. зеркала | |
8 | 1***9 | Корпус прав. зеркала | |
9 | 1***1 | Накладка двери лев. нижн. | |
9 | 1***1 | Накладка прав. двери нижн. | |
10 | 1***1 | Ручка двери прав. наружн. | |
10 | 1***1 | Ручка двери лев. наружн. | |
11 | 1***7 | Цилиндр передн. лев. замка | |
11 | 1***7 | Цилиндр передн. прав. замка | |
12 | 1***4 | Световозвращатель двери прав. | |
12 | 1***4 | Световозвращатель двери лев. | |
13 | 1***1 | Пластина облицовки лев. двери внутр. | |
13 | 1***1 | Пластина облицовки прав. двери внутр. | |
14 | 1***8 | Пластина уплотнительная прав. внутр. | |
14 | 1***8 | Пластина уплотнительная лев. внутр. | |
15 | 1***5 | Направляющая задн. лев. | |
15 | 1***5 | Направляющая задн. прав. | |
16 | 1***4 | Опора ручки двери прав. | |
16 | 1***4 | Опора ручки двери лев. | |
17 | 1***0 | Накладка декоративная бортовой окантовки лев. | |
17 | 1***0 | Накладка декоративная бортовой окантовки прав. | |
18 | 1***0 | Переключатель стеклоподъемника прав. | |
18 | 1***0 | Переключатель стеклоподъемника лев. | |
19 | 1***5 | Элемент вакуумный прав. | |
19 | 1***5 | Элемент вакуумный лев. | |
20 | 1***1 | Стекло зеркала прав. | |
21 | 1***5 | Замок лев. двери | |
21 | 1***5 | Замок прав. двери | |
22 | 1***4 | Ушко замка прав. | |
22 | 1***4 | Ушко замка лев. |
Содержащиеся в справочниках-каталогах запасные части и детали не предлагаются к продаже, а носят исключительно информационный характер. В демо-версии артикулы (номера деталей) скрыты. Если вы хотите видеть полные оригинальные номера запчастей, вам необходимо зарегистрироваться на нашем сайте и приобрести подписку по интересующей вас конфигурации, после этого вы сможете встроить онлайн-каталоги на ваш сайт или пользоваться ими из личного кабинета нашего сайта. Обращаем ваше внимание на то, что каталоги содержат информацию об оригинальных заводских номерах и названиях запчастей. База по аналогам в данный момент не реализована. Поиска по VIN-номерам в онлайн-каталоге не предусмотрено. Выбор конкретного каталога осуществляется путем открытия нужного типа техники, марки, модели с учетом года выпуска или модификации.