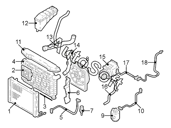
Каталог запасных частей к технике: Mercedes Benz SL 350 (2012). Двигатель/ Система охлаждения 5

10
17
16
14
13
4
18
15
12
11
1
9
8
7
6
6
5
3
3
2
Позиция на иллюстрации | Заводской номер детали | Название детали | |
---|---|---|---|
1 | 2***4 | Конденсатор | |
2 | 2***0 | Радиатор масляный гидроусилителя | |
3 | 2***6 | Уплотнитель радиатора верхн. | |
3 | 2***6 | Уплотнитель радиатора нижн. | |
4 | 2***3 | Радиатор | |
5 | 2***5 | Трубопровод конденсатора/бачка | |
6 | 2***0 | Воздуховод лев. | |
6 | 2***0 | Воздуховод прав. | |
7 | 2***2 | Датчик температуры | |
8 | 2***3 | Электровентилятор в сборе | |
9 | 2***3 | Баллон осушителя | |
10 | 2***5 | Трубопровод бачка/расширительного клапана | |
11 | 2***8 | Облицовка радиатора | |
12 | 2***9 | Бачок расширительный | |
13 | 2***2 | Шланг радиатора прав. нижн. | |
14 | 2***2 | Шланг радиатора верхн. | |
15 | 0***1 | Компрессор в сборе | |
16 | 2***5 | Трубопровод компрессора/переходника | |
17 | 2***5 | Трубопровод компрессора/кондиционера | |
18 | 2***5 | Трубопровод переходника/расширительного клапана |
Содержащиеся в справочниках-каталогах запасные части и детали не предлагаются к продаже, а носят исключительно информационный характер. В демо-версии артикулы (номера деталей) скрыты. Если вы хотите видеть полные оригинальные номера запчастей, вам необходимо зарегистрироваться на нашем сайте и приобрести подписку по интересующей вас конфигурации, после этого вы сможете встроить онлайн-каталоги на ваш сайт или пользоваться ими из личного кабинета нашего сайта. Обращаем ваше внимание на то, что каталоги содержат информацию об оригинальных заводских номерах и названиях запчастей. База по аналогам в данный момент не реализована. Поиска по VIN-номерам в онлайн-каталоге не предусмотрено. Выбор конкретного каталога осуществляется путем открытия нужного типа техники, марки, модели с учетом года выпуска или модификации.