Каталог запасных частей к технике: Mercedes Benz CL 500 (ZAS) (2012). Основание и обивка салона

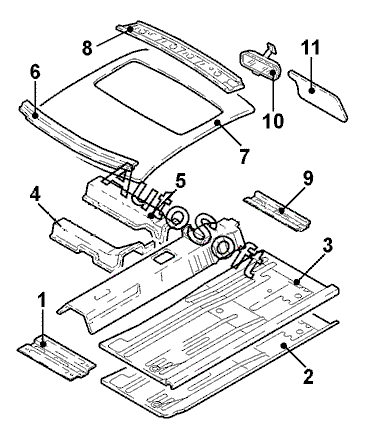
1
2
2
3
3
4
4
5
5
6
7
8
9
10
11
11
Позиция на иллюстрации | Заводской номер детали | Название детали | |
---|---|---|---|
1 | 2***5 | Усилитель задн. поперечины | |
2 | 2***8 | Щиток основания лев. | |
2 | 2***8 | Щиток основания прав. | |
3 | 2***0 | Пол основной лев. | |
3 | 2***0 | Пол основной прав. | |
4 | 2***0 | Поперечина передн. лев. сиденья | |
4 | 2***0 | Поперечина передн. прав. сиденья | |
5 | 2***0 | Поперечина передн. лев. сиденья | |
5 | 2***0 | Поперечина передн. прав. сиденья | |
6 | 2***1 | Рама крыши, задн. часть | |
7 | 2***0 | Облицовка крыши | |
8 | 2***1 | Рама крыши, передн. часть | |
9 | 2***5 | Усилитель поперечины передн. | |
10 | 2***6 | Зеркало внутр. | |
11 | 2***1 | Козырек солнцезащитный лев. | |
11 | 2***1 | Козырек солнцезащитный прав. |
Содержащиеся в справочниках-каталогах запасные части и детали не предлагаются к продаже, а носят исключительно информационный характер. В демо-версии артикулы (номера деталей) скрыты. Если вы хотите видеть полные оригинальные номера запчастей, вам необходимо зарегистрироваться на нашем сайте и приобрести подписку по интересующей вас конфигурации, после этого вы сможете встроить онлайн-каталоги на ваш сайт или пользоваться ими из личного кабинета нашего сайта. Обращаем ваше внимание на то, что каталоги содержат информацию об оригинальных заводских номерах и названиях запчастей. База по аналогам в данный момент не реализована. Поиска по VIN-номерам в онлайн-каталоге не предусмотрено. Выбор конкретного каталога осуществляется путем открытия нужного типа техники, марки, модели с учетом года выпуска или модификации.