Каталог запасных частей к технике: Mercedes Benz ML 270 CDI Inspiration (2012). Рама

9
5
15
14
14
13
12
11
10
10
1
8
8
7
6
6
4
4
3
2
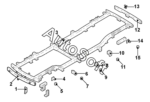
Позиция на иллюстрации | Заводской номер детали | Название детали | |
---|---|---|---|
1 | 1***8 | Проушина буксирная передн. | |
2 | 1***2 | Поперечина рамы передн. | |
3 | 1***0 | Рама в сборе | |
4 | 1***5 | Опора передн. прав. | |
4 | 1***5 | Опора передн. лев. | |
5 | 1***2 | Опора верхн. | |
6 | 1***7 | Балка средн. лев. | |
6 | 1***7 | Балка средн. прав. | |
7 | 1***2 | Опора верхн. | |
8 | 1***7 | Балка средн. прав. | |
8 | 1***7 | Балка средн. лев. | |
9 | 1***2 | Опора верхн. | |
10 | 1***7 | Балка средн. прав. | |
10 | 1***7 | Балка средн. лев. | |
11 | 1***2 | Опора верхн. | |
12 | 1***6 | Поперечина рамы задн. | |
13 | 1***8 | Проушина буксирная задн. | |
14 | 1***1 | Опора задн. прав. | |
14 | 1***1 | Опора задн. лев. | |
15 | 1***2 | Опора верхн. |
Содержащиеся в справочниках-каталогах запасные части и детали не предлагаются к продаже, а носят исключительно информационный характер. В демо-версии артикулы (номера деталей) скрыты. Если вы хотите видеть полные оригинальные номера запчастей, вам необходимо зарегистрироваться на нашем сайте и приобрести подписку по интересующей вас конфигурации, после этого вы сможете встроить онлайн-каталоги на ваш сайт или пользоваться ими из личного кабинета нашего сайта. Обращаем ваше внимание на то, что каталоги содержат информацию об оригинальных заводских номерах и названиях запчастей. База по аналогам в данный момент не реализована. Поиска по VIN-номерам в онлайн-каталоге не предусмотрено. Выбор конкретного каталога осуществляется путем открытия нужного типа техники, марки, модели с учетом года выпуска или модификации.