Каталог запасных частей к технике: Mercedes Benz R 350 L 4Matic 7G-Tronic (2012). Кузов 17

1
2
3
4
5
6
6
7
4
5
8
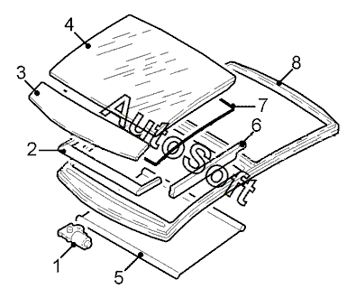
Позиция на иллюстрации | Заводской номер детали | Название детали | |
---|---|---|---|
1 | 1***2 | Двигатель панорамной крыши | |
2 | 2***4 | Обтекатель передн. | |
3 | 2***2 | Накладка панорамной крыши | |
4 | 2***1 | Стекло панорамной крыши передн. | |
4 | 2***2 | Стекло панорамной крыши задн. | |
5 | 2***3 | Шторка солнцезащитная передн. | |
5 | 2***3 | Шторка солнцезащитная задн. | |
6 | 2***0 | Направляющая крыши лев. | |
6 | 2***0 | Направляющая прав. | |
7 | 1***8 | Уплотнитель крышки сдвижного люка крыши | |
8 | 2***9 | Рама панорамной крыши |
Содержащиеся в справочниках-каталогах запасные части и детали не предлагаются к продаже, а носят исключительно информационный характер. В демо-версии артикулы (номера деталей) скрыты. Если вы хотите видеть полные оригинальные номера запчастей, вам необходимо зарегистрироваться на нашем сайте и приобрести подписку по интересующей вас конфигурации, после этого вы сможете встроить онлайн-каталоги на ваш сайт или пользоваться ими из личного кабинета нашего сайта. Обращаем ваше внимание на то, что каталоги содержат информацию об оригинальных заводских номерах и названиях запчастей. База по аналогам в данный момент не реализована. Поиска по VIN-номерам в онлайн-каталоге не предусмотрено. Выбор конкретного каталога осуществляется путем открытия нужного типа техники, марки, модели с учетом года выпуска или модификации.