Каталог запасных частей к технике: Mercedes Benz GL 320 CDI DPF 4Matic 7G-Tronic (2012). Коробка передач 1

1
2
3
4
5
6
7
8
9
10
11
11
12
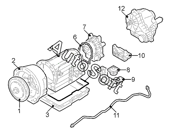
Позиция на иллюстрации | Заводской номер детали | Название детали | |
---|---|---|---|
1 | 2***2 | Преобразователь крутящего момента | |
2 | 2***1 | Корпус преобразователя | |
3 | 2***2 | Поддон масляный коробки передач | |
4 | 1***1 | Картер коробки передач | |
5 | 2***0 | Уплотнитель масляного поддона | |
6 | 1***4 | Уплотнитель корпуса | |
7 | 1***1 | Корпус переходника | |
8 | 1***8 | Опора коробки передач | |
9 | 1***2 | Кронштейн двигателя | |
10 | 2***0 | Кронштейн коробки передач задн. | |
11 | 1***2 | Трубопровод масляный коробки передач прав. | |
11 | 1***2 | Трубопровод масляный коробки передач лев. | |
12 | 2***0 | Коробка раздаточная |
Содержащиеся в справочниках-каталогах запасные части и детали не предлагаются к продаже, а носят исключительно информационный характер. В демо-версии артикулы (номера деталей) скрыты. Если вы хотите видеть полные оригинальные номера запчастей, вам необходимо зарегистрироваться на нашем сайте и приобрести подписку по интересующей вас конфигурации, после этого вы сможете встроить онлайн-каталоги на ваш сайт или пользоваться ими из личного кабинета нашего сайта. Обращаем ваше внимание на то, что каталоги содержат информацию об оригинальных заводских номерах и названиях запчастей. База по аналогам в данный момент не реализована. Поиска по VIN-номерам в онлайн-каталоге не предусмотрено. Выбор конкретного каталога осуществляется путем открытия нужного типа техники, марки, модели с учетом года выпуска или модификации.