Каталог запасных частей к технике: Mercedes Benz GLK 280 4Matic Editon 1 7G-Tronic (2012). Двери 3

19
14
15
15
16
16
17
17
18
18
19
14
19
19
22
22
9
9
10
10
21
21
6
1
2
2
3
3
4
4
5
5
6
1
7
7
8
8
11
11
12
12
13
13
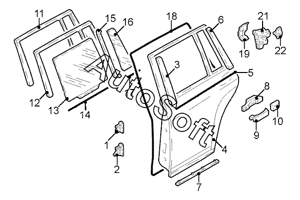
Позиция на иллюстрации | Заводской номер детали | Название детали | |
---|---|---|---|
1 | 2***7 | Петля задн. лев. двери верхн. | |
1 | 2***7 | Петля задн. прав. двери верхн. | |
2 | 2***7 | Петля задн. лев. двери нижн. | |
2 | 2***7 | Петля задн. прав. двери нижн. | |
3 | 2***7 | Накладка декоративная задн. лев. двери передн. | |
3 | 2***7 | Накладка декоративная задн. прав. двери передн. | |
4 | 2***5 | Дверь задн. лев. | |
4 | 2***5 | Дверь задн. прав. | |
5 | 2***5 | Уплотнитель стекла задн. лев. двери наружн. | |
5 | 2***5 | Уплотнитель стекла задн. прав. двери наружн. | |
6 | 2***7 | Накладка декоративная задн. лев. двери задн. | |
6 | 2***7 | Накладка декоративная задн. прав. двери задн. | |
7 | 2***2 | Накладка задн. прав. двери нижн. | |
7 | 2***2 | Накладка задн. лев. двери нижн. | |
8 | 2***4 | Пластина наружн. ручки задн. лев. двери | |
8 | 2***4 | Пластина наружн. ручки задн. прав. двери | |
9 | 2***7 | Ручка задн. лев. двери наружн. | |
9 | 2***7 | Ручка задн. двери прав. наружн. | |
10 | 2***7 | Облицовка ручки задн. лев. двери | |
10 | 2***7 | Облицовка ручки задн. прав. двери | |
11 | 2***1 | Облицовка рамки окна задн. двери лев. | |
11 | 2***1 | Облицовка рамки окна задн. двери прав. | |
12 | 2***5 | Направляющая стекла задн. лев. двери | |
12 | 2***5 | Направляющая стекла задн. прав. двери | |
13 | 2***0 | Стекло задн. лев. двери | |
13 | 2***0 | Стекло задн. прав. двери | |
14 | 2***5 | Уплотнитель шахты задн. лев. стекла внутр. | |
14 | 2***5 | Уплотнитель шахты задн. прав. стекла внутр. | |
15 | 2***9 | Распорка окна задн. лев. двери | |
15 | 2***9 | Распорка окна задн. прав. двери | |
16 | 2***5 | Стекло треугольное задн. лев. | |
16 | 2***5 | Стекло треугольное задн. прав. | |
17 | 2***4 | Накладка шахты задн. прав. стекла | |
17 | 2***4 | Накладка шахты задн. лев. стекла | |
18 | 2***7 | Уплотнитель задн. прав. двери | |
18 | 2***7 | Уплотнитель задн. лев. двери | |
19 | 2***8 | Облицовка задн. лев. двери внутр. | |
19 | 2***8 | Облицовка задн. прав. двери внутр. | |
19 | 2***8 | Облицовка замка задн. лев. двери | |
19 | 2***8 | Облицовка замка задн. прав. двери | |
21 | 2***5 | Замок задн. лев. двери | |
21 | 2***5 | Замок задн. прав. двери | |
22 | 2***4 | Штырь замка задн. прав. двери | |
22 | 2***4 | Штырь замка задн. лев. двери |
Содержащиеся в справочниках-каталогах запасные части и детали не предлагаются к продаже, а носят исключительно информационный характер. В демо-версии артикулы (номера деталей) скрыты. Если вы хотите видеть полные оригинальные номера запчастей, вам необходимо зарегистрироваться на нашем сайте и приобрести подписку по интересующей вас конфигурации, после этого вы сможете встроить онлайн-каталоги на ваш сайт или пользоваться ими из личного кабинета нашего сайта. Обращаем ваше внимание на то, что каталоги содержат информацию об оригинальных заводских номерах и названиях запчастей. База по аналогам в данный момент не реализована. Поиска по VIN-номерам в онлайн-каталоге не предусмотрено. Выбор конкретного каталога осуществляется путем открытия нужного типа техники, марки, модели с учетом года выпуска или модификации.