Каталог запасных частей к технике: Mercedes Benz Vaneo 1.6 Ambiente (2012). Блок цилиндров/Сцепление

15
27
26
25
24
23
23
22
21
20
19
18
17
16
1
14
13
12
11
10
9
8
7
6
5
4
3
2
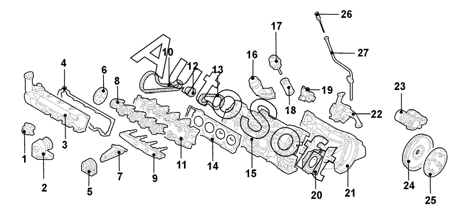
Позиция на иллюстрации | Заводской номер детали | Название детали | |
---|---|---|---|
1 | 0***0 | Клапан переключающий | |
2 | 0***5 | Насос воздушный | |
3 | 1***0 | Крышка клапана | |
4 | 1***0 | Прокладка крышки клапана | |
5 | 1***7 | Опора двигателя передн. | |
6 | 1***1 | Шестерня распределительного вала | |
7 | 1***4 | Кронштейн двигателя лев. | |
8 | 1***2 | Картер распределительного вала | |
9 | 0***0 | Катушка зажигания | |
10 | 1***4 | Цепь привода | |
11 | 1***0 | Головка блока цилиндров | |
12 | 1***3 | Шестерня коленчатого вала | |
13 | 1***4 | Цепь привода масляного насоса | |
14 | 1***0 | Прокладка головки блока цилиндров | |
15 | 1***5 | Картер | |
16 | 1***0 | Фильтр масляный в сборе | |
17 | 1***8 | Крышка масляного фильтра | |
18 | 1***9 | Элемент фильтрующий | |
19 | 1***5 | Корпус термостата | |
20 | 1***4 | Пластина/плата замка задн. | |
21 | 1***3 | Поддон масляный | |
22 | 1***1 | Насос масляный | |
23 | 1***1 | Стартер | |
23 | 1***0 | Стартер восстановл. | |
24 | 1***5 | Маховик | |
25 | 0***5 | Диск сцепления | |
26 | 1***2 | Указатель уровня масла | |
27 | 1***6 | Труба указателя уровня |
Содержащиеся в справочниках-каталогах запасные части и детали не предлагаются к продаже, а носят исключительно информационный характер. В демо-версии артикулы (номера деталей) скрыты. Если вы хотите видеть полные оригинальные номера запчастей, вам необходимо зарегистрироваться на нашем сайте и приобрести подписку по интересующей вас конфигурации, после этого вы сможете встроить онлайн-каталоги на ваш сайт или пользоваться ими из личного кабинета нашего сайта. Обращаем ваше внимание на то, что каталоги содержат информацию об оригинальных заводских номерах и названиях запчастей. База по аналогам в данный момент не реализована. Поиска по VIN-номерам в онлайн-каталоге не предусмотрено. Выбор конкретного каталога осуществляется путем открытия нужного типа техники, марки, модели с учетом года выпуска или модификации.