Каталог запасных частей к технике: Mercedes Benz Vaneo 1.9 Family (2012). Крыша и боковина

16
11
11
12
13
13
14
14
16
10
17
17
18
18
19
19
15
15
5
1
2
2
3
3
4
4
5
1
6
6
7
7
8
9
10
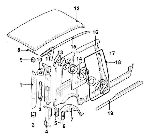
Позиция на иллюстрации | Заводской номер детали | Название детали | |
---|---|---|---|
1 | 4***4 | Фонарь задн. лев. | |
1 | 4***4 | Фонарь задн. прав. | |
2 | 4***3 | Накладка угловая задн. лев. | |
2 | 4***3 | Накладка угловая задн. прав. | |
3 | 4***7 | Стойка лампы прав. | |
3 | 4***7 | Стойка лампы лев. | |
4 | 4***1 | Уголок панели задка лев. | |
4 | 4***1 | Уголок панели задка прав. | |
5 | 9***2 | Воздухозаборник прав. боковины задн. | |
5 | 9***2 | Воздухозаборник лев. боковины задн. | |
6 | 9***8 | Накладка воздухозаборника задн. прав. | |
6 | 9***8 | Накладка воздухозаборника задн. лев. | |
7 | 4***0 | Облицовка арки колеса лев. | |
7 | 4***0 | Облицовка арки колеса прав. | |
8 | 4***5 | Антенна | |
9 | 4***1 | Ручка задн. внутр. | |
10 | 4***6 | Кронштейн газонаполненного амортизатора прав. | |
10 | 4***6 | Кронштейн газонаполненного амортизатора лев. | |
11 | 4***9 | Стойка задн. прав. | |
11 | 4***9 | Стойка задн. лев. | |
12 | 4***9 | Крыша | |
13 | 4***7 | Боковина лев. задн. часть | |
13 | 4***7 | Боковина прав. задн. часть | |
14 | 4***2 | Стекло боковины задн. прав. | |
14 | 4***2 | Стекло боковины задн. лев. | |
15 | 4***2 | Накладка декоративная водосточного желоба прав. | |
15 | 4***2 | Накладка декоративная водосточного желоба лев. | |
16 | 4***9 | Облицовка крыши лев. | |
16 | 4***9 | Облицовка крыши прав. | |
17 | 4***9 | Стойка средн. лев. с порогом | |
17 | 4***9 | Стойка средн. прав. с порогом | |
18 | 4***6 | Уплотнитель прав. сдвижной двери | |
18 | 4***6 | Уплотнитель лев. сдвижной двери | |
19 | 4***8 | Облицовка порога прав. | |
19 | 4***8 | Облицовка порога лев. |
Содержащиеся в справочниках-каталогах запасные части и детали не предлагаются к продаже, а носят исключительно информационный характер. В демо-версии артикулы (номера деталей) скрыты. Если вы хотите видеть полные оригинальные номера запчастей, вам необходимо зарегистрироваться на нашем сайте и приобрести подписку по интересующей вас конфигурации, после этого вы сможете встроить онлайн-каталоги на ваш сайт или пользоваться ими из личного кабинета нашего сайта. Обращаем ваше внимание на то, что каталоги содержат информацию об оригинальных заводских номерах и названиях запчастей. База по аналогам в данный момент не реализована. Поиска по VIN-номерам в онлайн-каталоге не предусмотрено. Выбор конкретного каталога осуществляется путем открытия нужного типа техники, марки, модели с учетом года выпуска или модификации.