Каталог запасных частей к технике: Mercedes Benz MB 100 D (2012). Система выпуска газа/Топливная система 2

1
2
3
3
4
5
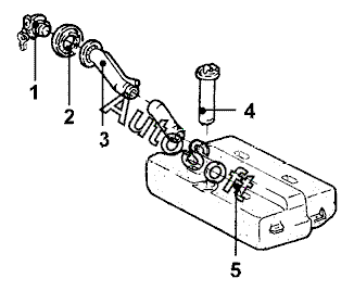
Позиция на иллюстрации | Заводской номер детали | Название детали | |
---|---|---|---|
1 | 6***0 | Пробка бака с замочным устройством | |
2 | 6***9 | Проставка | |
3 | 6***4 | Горловина наливная | |
3 | 6***6 | Шланг наливной горловины | |
4 | 6***6 | Датчик указателя уровня топлива | |
5 | 6***1 | Бак топливный |
Содержащиеся в справочниках-каталогах запасные части и детали не предлагаются к продаже, а носят исключительно информационный характер. В демо-версии артикулы (номера деталей) скрыты. Если вы хотите видеть полные оригинальные номера запчастей, вам необходимо зарегистрироваться на нашем сайте и приобрести подписку по интересующей вас конфигурации, после этого вы сможете встроить онлайн-каталоги на ваш сайт или пользоваться ими из личного кабинета нашего сайта. Обращаем ваше внимание на то, что каталоги содержат информацию об оригинальных заводских номерах и названиях запчастей. База по аналогам в данный момент не реализована. Поиска по VIN-номерам в онлайн-каталоге не предусмотрено. Выбор конкретного каталога осуществляется путем открытия нужного типа техники, марки, модели с учетом года выпуска или модификации.