Каталог запасных частей к технике: Mercedes Benz Vito 111 CDI Lang (2012). Кузов 14

5
8
2
3
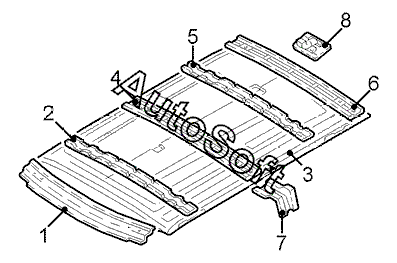
Позиция на иллюстрации | Заводской номер детали | Название детали | |
---|---|---|---|
2 | 6***2 | Дуга крыши задн. | |
3 | 6***3 | Облицовка крыши задн.часть | |
5 | 6***2 | Дуга крыши передн. средн. | |
8 | 6***3 | Блок управления консоли крыши |
Содержащиеся в справочниках-каталогах запасные части и детали не предлагаются к продаже, а носят исключительно информационный характер. В демо-версии артикулы (номера деталей) скрыты. Если вы хотите видеть полные оригинальные номера запчастей, вам необходимо зарегистрироваться на нашем сайте и приобрести подписку по интересующей вас конфигурации, после этого вы сможете встроить онлайн-каталоги на ваш сайт или пользоваться ими из личного кабинета нашего сайта. Обращаем ваше внимание на то, что каталоги содержат информацию об оригинальных заводских номерах и названиях запчастей. База по аналогам в данный момент не реализована. Поиска по VIN-номерам в онлайн-каталоге не предусмотрено. Выбор конкретного каталога осуществляется путем открытия нужного типа техники, марки, модели с учетом года выпуска или модификации.