Каталог запасных частей к технике: Toyota Starlet Carat (2012). Кондиционер 1

1
2
3
4
5
6
7
8
9
10
11
12
13
14
15
16
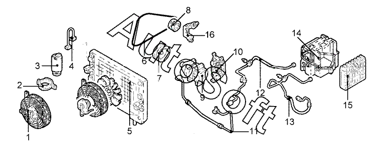
Позиция на иллюстрации | Заводской номер детали | Название детали | |
---|---|---|---|
1 | 8***0 | Вентилятор дополнительный | |
2 | 8***0 | Кронштейн баллона осушителя | |
3 | 8***0 | Баллон осушителя | |
4 | 8***0 | Труба осушителя | |
5 | 8***0 | Конденсатор | |
6 | 9***0 | Ремень клиновой компрессора | |
7 | 8***0 | Муфта электромагнитная | |
8 | 8***0 | Ролик натяжной компрессора | |
9 | 8***4 | Компрессор кондиционера | |
10 | 8***0 | Кронштейн компрессора | |
11 | 8***0 | Шланг отводящий | |
12 | 8***0 | Шланг отводящий | |
13 | 8***0 | Шланг притока | |
14 | 8***0 | Установка климатическая | |
15 | 8***0 | Испаритель | |
16 | 8***1 | Кронштейн натяжного ролика |
Содержащиеся в справочниках-каталогах запасные части и детали не предлагаются к продаже, а носят исключительно информационный характер. В демо-версии артикулы (номера деталей) скрыты. Если вы хотите видеть полные оригинальные номера запчастей, вам необходимо зарегистрироваться на нашем сайте и приобрести подписку по интересующей вас конфигурации, после этого вы сможете встроить онлайн-каталоги на ваш сайт или пользоваться ими из личного кабинета нашего сайта. Обращаем ваше внимание на то, что каталоги содержат информацию об оригинальных заводских номерах и названиях запчастей. База по аналогам в данный момент не реализована. Поиска по VIN-номерам в онлайн-каталоге не предусмотрено. Выбор конкретного каталога осуществляется путем открытия нужного типа техники, марки, модели с учетом года выпуска или модификации.