Каталог запасных частей к технике: Toyota Corolla 1.8 D XL (2012). Кузов 1

21
16
16
17
17
18
18
19
20
20
21
15
22
22
23
23
24
26
27
27
25
9
1
2
3
4
5
6
7
7
8
1
10
10
11
12
12
13
13
14
15
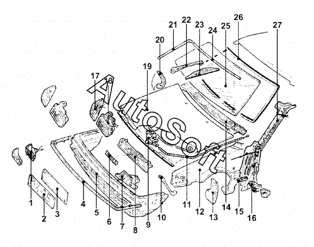
Позиция на иллюстрации | Заводской номер детали | Название детали | |
---|---|---|---|
1 | 8***2 | Фонарь указателя поворота передн. прав. в сборе | |
1 | 8***2 | Фонарь указателя поворота передн. лев. в сборе | |
2 | -***- | Знак номерной передн. отражающий | |
3 | -***- | Усилитель крепления передн. номерного знака | |
4 | 5***0 | Накладка декоративная передн. бампера | |
5 | 5***0 | Бампер передн. | |
6 | 7***0 | Цифры фирменные | |
7 | 5***0 | Кронштейн передн. бампера прав. | |
7 | 5***0 | Кронштейн передн. бампера лев. | |
8 | 5***0 | Решетка радиатора | |
9 | 5***0 | Замок капота | |
10 | 5***0 | Кронштейн бампера прав. наружн. | |
10 | 5***0 | Кронштейн бампера лев. наружн. | |
11 | 5***0 | Тросик открывания капота | |
12 | 5***0 | Крыло передн. прав. | |
12 | 5***0 | Крыло передн. лев. | |
13 | 7***0 | Брызговик передн. прав. | |
13 | 7***0 | Брызговик передн. лев. | |
14 | 5***0 | Решетка декоративная обтекателя | |
15 | 7***0 | Накладка упорная передн. прав. | |
15 | 7***0 | Накладка упорная передн.лев. | |
16 | 8***2 | Фонарь боков. повторителя указателя поворота прав. | |
16 | 8***2 | Фонарь боков. повторителя указателя поворота лев. | |
17 | 8***0 | Фонарь стояночный передн. прав. в сборе | |
17 | 8***0 | Фонарь стояночный передн. лев. в сборе | |
18 | 8***0 | Фара прав. в сборе | |
18 | 8***0 | Фара лев. в сборе | |
19 | 5***0 | Капот | |
20 | 5***1 | Петля капота передн. прав. | |
20 | 5***1 | Петля капота передн. лев. | |
21 | 7***0 | Накладка декоративная лобового стекла прав. | |
21 | 7***0 | Накладка декоративная лобового стекла лев. | |
22 | 8***0 | Рычаг стеклоочистителя лев. | |
22 | 8***0 | Рычаг стеклоочистителя прав. | |
23 | 8***0 | Щетка стеклоочистителя прав. | |
23 | 8***0 | Щетка стеклоочистителя лев. | |
24 | 7***0 | Накладка декоративная лобового стекла верхн. | |
25 | 5***3 | Стекло лобовое трехслойное | |
26 | 0***0 | Уплотнитель лобового стекла | |
27 | 6***0 | Стойка передн. прав. | |
27 | 6***0 | Стойка передн. лев. |
Содержащиеся в справочниках-каталогах запасные части и детали не предлагаются к продаже, а носят исключительно информационный характер. В демо-версии артикулы (номера деталей) скрыты. Если вы хотите видеть полные оригинальные номера запчастей, вам необходимо зарегистрироваться на нашем сайте и приобрести подписку по интересующей вас конфигурации, после этого вы сможете встроить онлайн-каталоги на ваш сайт или пользоваться ими из личного кабинета нашего сайта. Обращаем ваше внимание на то, что каталоги содержат информацию об оригинальных заводских номерах и названиях запчастей. База по аналогам в данный момент не реализована. Поиска по VIN-номерам в онлайн-каталоге не предусмотрено. Выбор конкретного каталога осуществляется путем открытия нужного типа техники, марки, модели с учетом года выпуска или модификации.