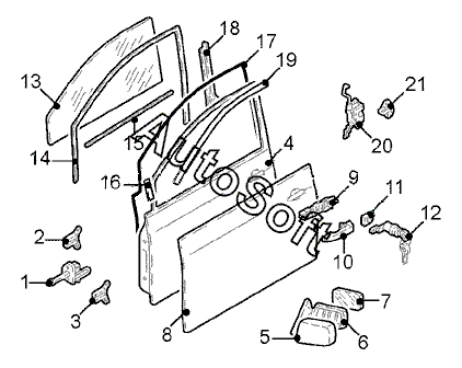
Каталог запасных частей к технике: Toyota Auris 1.4 VVT-i Luna (2012). Двери 1

15
1
1
4
4
8
8
13
13
14
14
21
15
17
17
19
19
10
10
11
11
9
2
3
3
5
5
6
6
7
7
2
9
12
16
16
18
18
20
20
21
Позиция на иллюстрации | Заводской номер детали | Название детали | |
---|---|---|---|
1 | 6***1 | Ограничитель передн. прав. двери | |
1 | 6***1 | Ограничитель передн. лев. двери | |
2 | 6***0 | Петля передн. прав. двери верхн. | |
2 | 6***0 | Петля передн. лев. двери верхн. | |
3 | 6***0 | Петля передн. прав. двери нижн. | |
3 | 6***0 | Петля передн. лев. двери нижн. | |
4 | 6***0 | Дверь передн. прав. | |
4 | 6***0 | Дверь передн. лев. | |
5 | 8***0 | Корпус прав. наружн. зеркала | |
5 | 8***0 | Корпус лев. наружн. зеркала | |
6 | 8***0 | Зеркало прав. наружн. | |
6 | 8***0 | Зеркало лев. наружн. | |
7 | 8***0 | Стекло прав. наружн. зеркала | |
7 | 8***0 | Стекло лев. наружн. зеркала | |
8 | 6***0 | Панель передн. прав. двери наружн. | |
8 | 6***0 | Панель передн. лев. двери наружн. | |
9 | 6***0 | Кронштейн ручки двери прав. | |
9 | 6***0 | Кронштейн ручки двери лев. | |
10 | 6***1 | Ручка передн. двери прав. наружн. | |
10 | 6***1 | Ручка передн. двери лев. наружн. | |
11 | 6***3 | Кронштейн цилиндра замка лев. | |
11 | 6***4 | Кронштейн цилиндра замка прав. | |
12 | 6***0 | Цилиндр лев. замка | |
13 | 6***0 | Стекло передн. прав. двери | |
13 | 6***0 | Стекло передн. лев. двери | |
14 | 6***0 | Направляющая стекла передн. прав. двери | |
14 | 6***0 | Направляющая стекла передн. лев. двери | |
15 | 7***0 | Уплотнитель шахты передн. прав. стекла наружн. | |
15 | 7***0 | Уплотнитель шахты передн. лев. стекла наружн. | |
16 | 7***0 | Накладка декоративная передн. прав. двери нижн. | |
16 | 7***0 | Накладка декоративная передн. лев. двери нижн. | |
17 | 6***0 | Уплотнитель передн. прав. двери | |
17 | 6***0 | Уплотнитель передн. лев. двери | |
18 | 6***0 | Направляющая передн. прав. | |
18 | 6***0 | Направляющая передн. лев. | |
19 | 7***0 | Накладка декоративная передн. прав. двери верхн. | |
19 | 7***0 | Накладка декоративная передн. лев. двери верхн. | |
20 | 6***0 | Замок передн. прав. двери | |
20 | 6***0 | Замок передн. лев. двери | |
21 | 6***0 | Защелка передн. прав. | |
21 | 6***0 | Защелка передн. лев. |
Содержащиеся в справочниках-каталогах запасные части и детали не предлагаются к продаже, а носят исключительно информационный характер. В демо-версии артикулы (номера деталей) скрыты. Если вы хотите видеть полные оригинальные номера запчастей, вам необходимо зарегистрироваться на нашем сайте и приобрести подписку по интересующей вас конфигурации, после этого вы сможете встроить онлайн-каталоги на ваш сайт или пользоваться ими из личного кабинета нашего сайта. Обращаем ваше внимание на то, что каталоги содержат информацию об оригинальных заводских номерах и названиях запчастей. База по аналогам в данный момент не реализована. Поиска по VIN-номерам в онлайн-каталоге не предусмотрено. Выбор конкретного каталога осуществляется путем открытия нужного типа техники, марки, модели с учетом года выпуска или модификации.