Каталог запасных частей к технике: Toyota Avensis 2.0 D-4D Executive (2012). Кузов 14

9
14
14
14
13
12
11
11
10
1
8
7
6
5
4
3
2
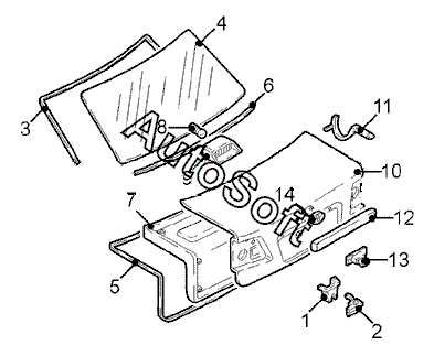
Позиция на иллюстрации | Заводской номер детали | Название детали | |
---|---|---|---|
1 | 6***0 | Замок крышки багажника | |
2 | 6***0 | Ушко замка задн. | |
3 | 7***0 | Накладка декоративная двери задка | |
4 | 6***0 | Стекло задка обогрев. | |
5 | 6***0 | Уплотнитель крышки багажника | |
6 | 6***0 | Накладка декоративная стекла задка нижн. | |
7 | 6***2 | Облицовка крышки багажника | |
8 | 8***0 | Лампа накаливания фонаря сигнала торможения | |
9 | 8***0 | Фонарь сигнала торможения дополнительный | |
10 | 6***0 | Крышка багажника | |
11 | 6***0 | Петля задн. прав. | |
11 | 6***0 | Петля задн. лев. | |
12 | 7***0 | Накладка крышки багажника | |
13 | 8***0 | Камера заднего хода | |
14 | 7***0 | Эмблема TOYOTA | |
14 | 7***0 | Надпись TOYOTA | |
14 | 7***0 | Надпись AVENSIS |
Содержащиеся в справочниках-каталогах запасные части и детали не предлагаются к продаже, а носят исключительно информационный характер. В демо-версии артикулы (номера деталей) скрыты. Если вы хотите видеть полные оригинальные номера запчастей, вам необходимо зарегистрироваться на нашем сайте и приобрести подписку по интересующей вас конфигурации, после этого вы сможете встроить онлайн-каталоги на ваш сайт или пользоваться ими из личного кабинета нашего сайта. Обращаем ваше внимание на то, что каталоги содержат информацию об оригинальных заводских номерах и названиях запчастей. База по аналогам в данный момент не реализована. Поиска по VIN-номерам в онлайн-каталоге не предусмотрено. Выбор конкретного каталога осуществляется путем открытия нужного типа техники, марки, модели с учетом года выпуска или модификации.