Меню Закрыть

Демо

Каталог запасных частей к технике: Toyota Land Cruiser 80 (2012). Двери 2

zoom-in zoom-out enlarge shrink circle-right circle-left file-text2 info cart
23
16
16
17
17
19
19
20
20
21
21
22
22
15
23
24
24
25
25
26
26
27
27
18
18
7
1
2
2
3
3
4
4
5
5
6
6
7
1
8
8
9
9
10
10
11
11
14
14
15
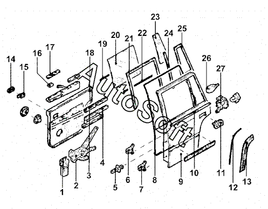
Позиция на иллюстрации Заводской номер детали Название детали
1 8***0 Двигатель стеклоподъемника задн. прав.
1 8***0 Двигатель стеклоподъемника задн. лев.
2 6***0 Стеклоподъемник задн. прав.
2 6***0 Стеклоподъемник задн. лев.
3 6***1 Уплотнитель направляющей задн. прав.
3 6***1 Уплотнитель направляющей задн. лев.
4 6***1 Направляющая стекла задн. прав.
4 6***1 Направляющая стекла задн. лев.
5 6***0 Ограничитель задн. прав. двери
5 6***0 Ограничитель задн. лев. двери
6 6***0 Петля задн. прав. двери верхн.
6 6***0 Петля задн. лев. двери верхн.
7 6***0 Петля задн. прав. двери нижн.
7 6***0 Петля задн. лев. двери нижн.
8 6***1 Уплотнитель задн. прав. двери
8 6***1 Уплотнитель задн. лев. двери
9 6***2 Дверь задн. прав.
9 6***2 Дверь задн. лев.
10 7***0 Накладка декоративная шахты задн. прав. стекла
10 7***0 Накладка декоративная шахты задн. лев. стекла
11 6***8 Ручка задн. двери прав. наружн.
11 6***8 Ручка задн. лев. двери наружн.
14 6***3 Розетка ручки задн. прав. двери
14 6***3 Розетка ручки задн. лев. двери
15 6***0 Ручка задн. прав. двери внутр.
15 6***0 Ручка задн. двери лев. внутр.
16 8***0 Переключатель задн. прав. стекла
16 8***0 Переключатель задн. лев. стекла
17 7***0 Облицовка переключателя задн. прав. двери
17 7***0 Облицовка переключателя задн. лев. двери
18 6***1 Обивка задн. прав. двери
18 6***1 Обивка задн. лев. двери
19 6***0 Уплотнитель шахты задн. прав. стекла внутр.
19 6***0 Уплотнитель шахты задн. лев. стекла внутр.
20 6***0 Стекло задн. прав. двери
20 6***0 Стекло задн. лев. двери
21 6***1 Направляющая стекла задн. прав. двери
21 6***1 Направляющая стекла задн. лев. двери
22 6***0 Уплотнитель шахты задн. прав. стекла наружн.
22 6***0 Уплотнитель шахты задн. лев. стекла наружн.
23 6***0 Стекло треугольное задн. прав.
23 6***0 Стекло треугольное задн. лев.
24 6***0 Распорка окна задн. прав. двери
24 6***0 Распорка окна задн. лев. двери
25 6***0 Уплотнитель задн. прав. треугольного стекла
25 6***0 Уплотнитель задн. лев. треугольного стекла
26 6***0 Двигатель центрального замка прав.
26 6***0 Двигатель центрального замка лев.
27 6***1 Замок задн. прав. двери
27 6***1 Замок задн. лев. двери
Содержащиеся в справочниках-каталогах запасные части и детали не предлагаются к продаже, а носят исключительно информационный характер. В демо-версии артикулы (номера деталей) скрыты. Если вы хотите видеть полные оригинальные номера запчастей, вам необходимо зарегистрироваться на нашем сайте и приобрести подписку по интересующей вас конфигурации, после этого вы сможете встроить онлайн-каталоги на ваш сайт или пользоваться ими из личного кабинета нашего сайта. Обращаем ваше внимание на то, что каталоги содержат информацию об оригинальных заводских номерах и названиях запчастей. База по аналогам в данный момент не реализована. Поиска по VIN-номерам в онлайн-каталоге не предусмотрено. Выбор конкретного каталога осуществляется путем открытия нужного типа техники, марки, модели с учетом года выпуска или модификации.