Каталог запасных частей к технике: Toyota Land Cruiser 120 D-4D Travel (2012). Двери 4

8
3
3
1
1
10
10
9
9
8
2
7
7
6
6
5
5
4
4
2
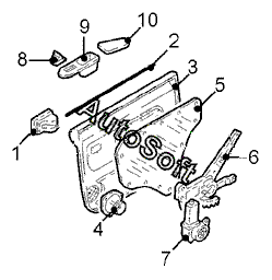
Позиция на иллюстрации | Заводской номер детали | Название детали | |
---|---|---|---|
1 | 6***0 | Ручка задн. прав. двери внутр. | |
1 | 6***0 | Ручка задн. двери лев. внутр. | |
2 | 6***0 | Уплотнитель шахты задн. прав. стекла внутр. | |
2 | 6***0 | Уплотнитель шахты задн. лев. стекла внутр. | |
3 | 6***0 | Обивка задн. прав. двери | |
3 | 6***0 | Обивка задн. лев. двери | |
4 | 8***0 | Динамик задн. прав. двери | |
4 | 8***0 | Динамик задн. лев. двери | |
5 | 6***0 | Шумоизоляция задн. прав. двери | |
5 | 6***0 | Шумоизоляция задн. лев. двери | |
6 | 6***0 | Стеклоподъемник задн. прав. | |
6 | 6***0 | Стеклоподъемник задн. лев. | |
7 | 8***0 | Двигатель стеклоподъемника задн. лев. | |
7 | 8***0 | Двигатель стеклоподъемника задн. прав. | |
8 | 8***3 | Переключатель задн. прав. стекла | |
8 | 8***3 | Переключатель задн. лев. стекла | |
9 | 7***0 | Кронштейн пепельницы задн. прав. | |
9 | 7***0 | Кронштейн пепельницы задн. лев. | |
10 | 7***0 | Подлокотник задн. прав. сиденья | |
10 | 7***0 | Подлокотник задн. лев. сиденья |
Содержащиеся в справочниках-каталогах запасные части и детали не предлагаются к продаже, а носят исключительно информационный характер. В демо-версии артикулы (номера деталей) скрыты. Если вы хотите видеть полные оригинальные номера запчастей, вам необходимо зарегистрироваться на нашем сайте и приобрести подписку по интересующей вас конфигурации, после этого вы сможете встроить онлайн-каталоги на ваш сайт или пользоваться ими из личного кабинета нашего сайта. Обращаем ваше внимание на то, что каталоги содержат информацию об оригинальных заводских номерах и названиях запчастей. База по аналогам в данный момент не реализована. Поиска по VIN-номерам в онлайн-каталоге не предусмотрено. Выбор конкретного каталога осуществляется путем открытия нужного типа техники, марки, модели с учетом года выпуска или модификации.