Каталог запасных частей к технике: Toyota Land Cruiser 200 V8 Execitive (2012). Двигатель/ Система охлаждения 4

15
20
19
18
17
16
14
13
9
8
7
1
10
21
12
10
6
5
4
3
2
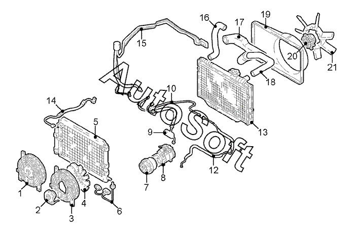
Позиция на иллюстрации | Заводской номер детали | Название детали | |
---|---|---|---|
1 | 8***0 | Вентилятор дополнительный в сборе | |
2 | 8***0 | Двигатель дополнительного вентилятора | |
3 | 8***0 | Корпус вентилятора | |
4 | 8***0 | Фланец вентилятора кондиционера | |
5 | 8***0 | Конденсатор | |
6 | 8***0 | Трубопровод отводящий | |
7 | 8***0 | Муфта электромагнитная в сборе | |
8 | 8***0 | Компрессор | |
9 | 8***0 | Труба от компрессора к испарителю | |
10 | 8***0 | Труба испарителя | |
10 | 8***0 | Труба испарителя/конденсатора | |
12 | 8***0 | Трубопровод конденсатора | |
13 | 1***0 | Радиатор | |
14 | 8***0 | Трубопровод компрессора и конденсатора | |
15 | 8***0 | Труба испарителя | |
16 | 1***0 | Шланг радиатора нижн. | |
17 | 1***0 | Труба водяная | |
18 | 1***0 | Шланг радиатора верхн. | |
19 | 1***0 | Кожух радиатора | |
20 | 1***1 | Муфта вентилятора | |
21 | 1***0 | Крыльчатка вентилятора |
Содержащиеся в справочниках-каталогах запасные части и детали не предлагаются к продаже, а носят исключительно информационный характер. В демо-версии артикулы (номера деталей) скрыты. Если вы хотите видеть полные оригинальные номера запчастей, вам необходимо зарегистрироваться на нашем сайте и приобрести подписку по интересующей вас конфигурации, после этого вы сможете встроить онлайн-каталоги на ваш сайт или пользоваться ими из личного кабинета нашего сайта. Обращаем ваше внимание на то, что каталоги содержат информацию об оригинальных заводских номерах и названиях запчастей. База по аналогам в данный момент не реализована. Поиска по VIN-номерам в онлайн-каталоге не предусмотрено. Выбор конкретного каталога осуществляется путем открытия нужного типа техники, марки, модели с учетом года выпуска или модификации.