Каталог запасных частей к технике: Toyota HiAce (2012). Рама/Элементы жесткости кузова 1

20
15
15
16
17
17
18
18
19
19
20
14
21
22
23
24
24
25
27
28
28
16
8
1
2
3
4
5
6
6
7
7
8
1
9
9
10
10
11
11
12
12
13
14
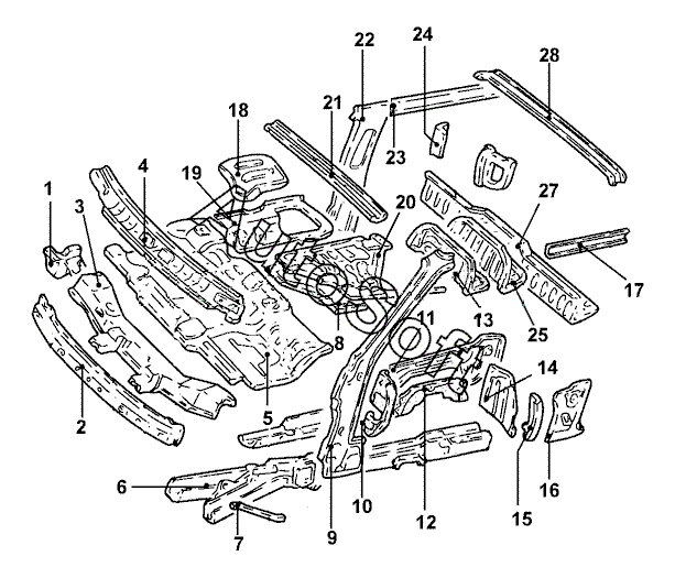
Позиция на иллюстрации | Заводской номер детали | Название детали | |
---|---|---|---|
1 | 5***2 | Консоль поперечины передн. прав. | |
1 | 5***2 | Консоль поперечины передн. лев. | |
2 | 5***0 | Балка основания кузова передн. | |
3 | 5***7 | Поперечина передн. | |
4 | 5***3 | Усилитель панели облицовки передка | |
5 | 5***0 | Основание кузова передн. | |
6 | 5***0 | Лонжерон передн. прав. | |
6 | 5***0 | Лонжерон передн. лев. | |
7 | 5***0 | Поперечина прав. | |
7 | 5***0 | Поперечина лев. | |
8 | 5***9 | Изоляция крышки лев. | |
8 | 5***3 | Изоляция крышки прав. | |
9 | 6***4 | Стойка передн. прав., внутр. часть | |
9 | 6***0 | Стойка передн. лев., внутр. часть | |
10 | 6***3 | Щиток передн. прав. стойки | |
10 | 6***3 | Облицовка передн. лев. стойки | |
11 | 5***9 | Лонжерон пола передн. прав. | |
11 | 5***9 | Лонжерон пола передн. лев. | |
12 | 5***2 | Брызговик передн. прав. | |
12 | 5***2 | Брызговик передн. лев. | |
13 | 5***8 | Изоляция крышки средн. | |
14 | 5***0 | Опора передн. прав. | |
14 | 5***0 | Опора передн. лев. | |
15 | 6***2 | Брызговик прав. | |
15 | 6***2 | Брызговик лев. | |
16 | 5***0 | Усилитель основания передн. прав. | |
16 | 5***0 | Усилитель основания передн. лев. | |
17 | 6***7 | Рама крыши, передн. прав. внутр. часть | |
17 | 6***4 | Рама крыши, передн. лев. внутр. часть | |
18 | 5***1 | Крышка аккумуляторной батареи | |
18 | 5***3 | Крышка воздушного фильтра | |
19 | 5***0 | Основание кузова передн. прав. | |
19 | 5***1 | Основание кузова передн. лев. | |
20 | 5***7 | Капот прав. | |
20 | 5***4 | Капот лев. | |
21 | 6***6 | Поперечина крыши передн. | |
22 | 6***3 | Стойка средн. прав., внутр. часть | |
23 | 6***5 | Рама крыши, средн. прав. внутр. часть | |
24 | 5***1 | Защита боковины прав. | |
24 | 5***0 | Защита боковины лев. | |
25 | 5***0 | Крышка средн. | |
27 | 5***5 | Перегородка нижн. | |
28 | 6***0 | Поперечина крыши средн., передн. часть. | |
28 | 6***0 | Поперечина крыши передн. |
Содержащиеся в справочниках-каталогах запасные части и детали не предлагаются к продаже, а носят исключительно информационный характер. В демо-версии артикулы (номера деталей) скрыты. Если вы хотите видеть полные оригинальные номера запчастей, вам необходимо зарегистрироваться на нашем сайте и приобрести подписку по интересующей вас конфигурации, после этого вы сможете встроить онлайн-каталоги на ваш сайт или пользоваться ими из личного кабинета нашего сайта. Обращаем ваше внимание на то, что каталоги содержат информацию об оригинальных заводских номерах и названиях запчастей. База по аналогам в данный момент не реализована. Поиска по VIN-номерам в онлайн-каталоге не предусмотрено. Выбор конкретного каталога осуществляется путем открытия нужного типа техники, марки, модели с учетом года выпуска или модификации.