Каталог запасных частей к технике: Peugeot 206 1.4 XT (2014). Кузов 15

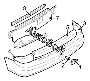
1
2
3
4
4
4
4
5
5
6
6
7
8
Позиция на иллюстрации | Заводской номер детали | Название детали | |
---|---|---|---|
1 | 6***5 | Фара противотуманная задн. | |
2 | 6***4 | Лампа накаливания противотуманного фонаря | |
3 | 7***E | Бампер задн. | |
4 | 7***G | Накладка защитная задн. бампера лев. | |
4 | 7***H | Накладка защитная задн. бампера прав. | |
4 | 7***Z | Накладка защитная задн. бампера лев. | |
4 | 7***A | Накладка защитная задн. бампера прав. | |
5 | 7***J | Накладка защитная задн. бампера | |
5 | 7***Y | Накладка защитная задн. бампера | |
6 | 7***S | Буфер задн. лев. | |
6 | 7***T | Буфер задн. прав. | |
7 | 7***4 | Панель задка в сборе | |
8 | 7***5 | Усилитель панели задка верхн. |
Содержащиеся в справочниках-каталогах запасные части и детали не предлагаются к продаже, а носят исключительно информационный характер. В демо-версии артикулы (номера деталей) скрыты. Если вы хотите видеть полные оригинальные номера запчастей, вам необходимо зарегистрироваться на нашем сайте и приобрести подписку по интересующей вас конфигурации, после этого вы сможете встроить онлайн-каталоги на ваш сайт или пользоваться ими из личного кабинета нашего сайта. Обращаем ваше внимание на то, что каталоги содержат информацию об оригинальных заводских номерах и названиях запчастей. База по аналогам в данный момент не реализована. Поиска по VIN-номерам в онлайн-каталоге не предусмотрено. Выбор конкретного каталога осуществляется путем открытия нужного типа техники, марки, модели с учетом года выпуска или модификации.