Каталог запасных частей к технике: Peugeot 408 150 THP Active (2014). Кузов 8

14
10
10
11
12
12
13
13
14
9
15
15
16
16
17
17
18
18
5
1
2
2
3
3
4
4
5
1
6
6
7
7
8
8
9
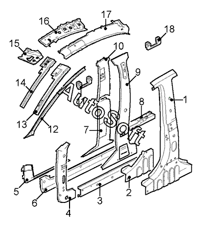
Позиция на иллюстрации | Заводской номер детали | Название детали | |
---|---|---|---|
1 | 9***5 | Усилитель средн. лев. стойки | |
1 | 9***J | Усилитель средн. прав. стойки | |
2 | 9***0 | Усилитель средн. лев. стойки нижн. | |
2 | 9***1 | Усилитель средн. прав. стойки нижн. | |
3 | 7***8 | Усилитель лев. порога | |
3 | 7***9 | Усилитель порога прав. | |
4 | 7***1 | Усилитель передн. лев. стойки | |
4 | 7***1 | Усилитель передн. прав. стойки | |
5 | 8***S | Облицовка передн. прав. стойки нижн. | |
5 | 8***V | Облицовка передн. лев. стойки нижн. | |
6 | 7***1 | Порог двери лев. внутр. | |
6 | 7***2 | Порог двери прав. внутр. | |
7 | 8***K | Облицовка средн. прав. стойки нижн. | |
7 | 8***P | Облицовка средн. лев. стойки нижн. | |
8 | 8***X | Кронштейн задн. прав. облицовки | |
8 | 8***Y | Кронштейн задн. лев. облицовки | |
9 | 9***4 | Стойка средн. лев. внутр. | |
9 | 9***H | Стойка средн. прав. внутр. | |
10 | 8***N | Облицовка средн. прав. стойки верхн. | |
10 | 8***R | Облицовка средн. лев. стойки верхн. | |
11 | 8***C | Поручень | |
12 | 8***R | Облицовка передн. прав. стойки | |
12 | 8***S | Облицовка передн. лев. стойки | |
13 | 8***K | Усилитель передн. лев. стойки верхн. | |
13 | 8***L | Усилитель передн. прав. стойки верхн. | |
14 | 8***F | Стойка передн. лев. верхн. внутр. | |
14 | 8***G | Стойка передн. прав. верхн. внутр. | |
15 | 8***H | Накладка угловая передн. лев. верхн. | |
15 | 8***J | Накладка угловая передн. прав. верхн. | |
16 | 8***9 | Усилитель рамы крыши лев. внутр. | |
16 | 8***3 | Усилитель рамы крыши прав. внутр. | |
17 | 8***1 | Рама крыши лев. часть | |
17 | 8***4 | Рама крыши прав. часть | |
18 | 8***E | Поручень задн. прав. | |
18 | 8***E | Поручень задн. лев. |
Содержащиеся в справочниках-каталогах запасные части и детали не предлагаются к продаже, а носят исключительно информационный характер. В демо-версии артикулы (номера деталей) скрыты. Если вы хотите видеть полные оригинальные номера запчастей, вам необходимо зарегистрироваться на нашем сайте и приобрести подписку по интересующей вас конфигурации, после этого вы сможете встроить онлайн-каталоги на ваш сайт или пользоваться ими из личного кабинета нашего сайта. Обращаем ваше внимание на то, что каталоги содержат информацию об оригинальных заводских номерах и названиях запчастей. База по аналогам в данный момент не реализована. Поиска по VIN-номерам в онлайн-каталоге не предусмотрено. Выбор конкретного каталога осуществляется путем открытия нужного типа техники, марки, модели с учетом года выпуска или модификации.