Каталог запасных частей к технике: Peugeot Expert 110 HDi (2014). Кузов 9

1
2
3
4
4
5
5
6
6
7
8
9
10
10
11
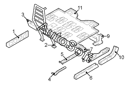
Позиция на иллюстрации | Заводской номер детали | Название детали | |
---|---|---|---|
1 | 7***2 | Перегородка боков. нижн. | |
2 | 7***X | Рама защитная | |
3 | 7***R | Перегородка нижн. | |
4 | 7***4 | Усилитель основания передн. лев. | |
4 | 7***5 | Усилитель основания передн. прав. | |
5 | 7***4 | Кронштейн основания передн. прав. | |
5 | 7***4 | Кронштейн основания передн. лев. | |
6 | 7***X | Лонжерон передн. прав. задн. часть | |
6 | 7***X | Лонжерон передн. лев. задн. часть | |
7 | 7***2 | Поперечина передн. основания задн. | |
8 | 7***F | Усилитель основания передн. нижн. | |
9 | 7***5 | Поперечина передн. основания передн. | |
10 | 7***Q | Лонжерон передн. лев. средн. часть | |
10 | 7***J | Лонжерон передн. прав. средн. часть | |
11 | 7***8 | Основание передн. |
Содержащиеся в справочниках-каталогах запасные части и детали не предлагаются к продаже, а носят исключительно информационный характер. В демо-версии артикулы (номера деталей) скрыты. Если вы хотите видеть полные оригинальные номера запчастей, вам необходимо зарегистрироваться на нашем сайте и приобрести подписку по интересующей вас конфигурации, после этого вы сможете встроить онлайн-каталоги на ваш сайт или пользоваться ими из личного кабинета нашего сайта. Обращаем ваше внимание на то, что каталоги содержат информацию об оригинальных заводских номерах и названиях запчастей. База по аналогам в данный момент не реализована. Поиска по VIN-номерам в онлайн-каталоге не предусмотрено. Выбор конкретного каталога осуществляется путем открытия нужного типа техники, марки, модели с учетом года выпуска или модификации.