Каталог запасных частей к технике: Volvo 480 S (2012). Кузов 1
24
18
19
19
20
20
22
22
23
23
18
24
25
25
6
15
15
21
21
10
2
3
4
5
7
8
8
9
1
11
11
12
12
13
14
17
17
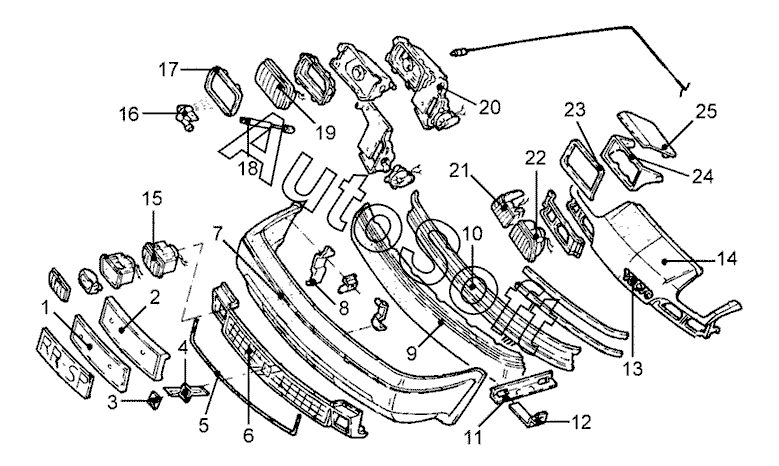
| Позиция на иллюстрации | Заводской номер детали | Название детали | |
|---|---|---|---|
| 1 | -***- | Усилитель номерного знака | |
| 2 | 3***7 | Опора передн. номерного знака | |
| 3 | 1***1 | Эмблема на решетке передн. | |
| 4 | 3***1 | Накладка декоративная диагональная | |
| 5 | 3***7 | Накладка декоративная решетки передн. | |
| 6 | 3***4 | Решетка радиатора | |
| 7 | 3***6 | Облицовка передн. бампера | |
| 8 | 3***0 | Кронштейн передн. бампера прав. наружн. | |
| 8 | 3***0 | Кронштейн передн. бампера лев. наружн. | |
| 9 | 3***4 | Стержень передн. бампера | |
| 10 | 3***0 | Усилитель бампера | |
| 11 | 3***2 | Накладка угловая передн. прав. наружн. | |
| 11 | 3***2 | Накладка угловая передн. лев. наружн. | |
| 12 | 3***1 | Уголок крепежный передн. прав. наружн. | |
| 12 | 3***1 | Уголок крепежный передн. лев. наружн. | |
| 13 | 3***4 | Эмблема изготовителя | |
| 14 | 3***6 | Панель облицовки передка | |
| 15 | 3***4 | Фара противотуманная лев. | |
| 15 | 3***5 | Фара противотуманная прав. | |
| 17 | 3***6 | Ободок фары прав. | |
| 17 | 3***6 | Ободок фары лев. | |
| 18 | 3***3 | Амортизатор передн. прав. | |
| 18 | 3***3 | Амортизатор передн. лев. | |
| 19 | 3***4 | Оптический элемент фары прав. | |
| 19 | 3***4 | Оптический элемент фары лев. | |
| 20 | 3***7 | Опора фары | |
| 20 | 3***8 | Опора фары | |
| 21 | 3***6 | Фонарь габаритный передн. лев. | |
| 21 | 3***7 | Фонарь габаритный передн. прав. | |
| 22 | 3***6 | Фара дальнего света лев. | |
| 22 | 3***7 | Фара дальнего света прав. | |
| 23 | 3***6 | Рамка облицовочная лев. фары | |
| 23 | 3***7 | Рамка облицовочная прав. фары | |
| 24 | 3***5 | Кронштейн фары лев. | |
| 24 | 3***6 | Кронштейн фары прав. | |
| 25 | 3***3 | Крышка фары | |
| 25 | 3***4 | Крышка фары |
Содержащиеся в справочниках-каталогах запасные части и детали не предлагаются к продаже, а носят исключительно информационный характер. В демо-версии артикулы (номера деталей) скрыты. Если вы хотите видеть полные оригинальные номера запчастей, вам необходимо зарегистрироваться на нашем сайте и приобрести подписку по интересующей вас конфигурации, после этого вы сможете встроить онлайн-каталоги на ваш сайт или пользоваться ими из личного кабинета нашего сайта. Обращаем ваше внимание на то, что каталоги содержат информацию об оригинальных заводских номерах и названиях запчастей. База по аналогам в данный момент не реализована. Поиска по VIN-номерам в онлайн-каталоге не предусмотрено. Выбор конкретного каталога осуществляется путем открытия нужного типа техники, марки, модели с учетом года выпуска или модификации.