Каталог запасных частей к технике: Nissan Almera Tino DCi Tekna (2012). Задняя часть кузова: бампер

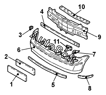
1
2
4
5
7
7
8
8
9
10
11
3
3
11
6
Позиция на иллюстрации | Заводской номер детали | Название детали | |
---|---|---|---|
1 | -***- | Знак номерной задн. | |
2 | -***- | Усилитель задн. номерного знака | |
3 | 8***0 | Буфер задн. бампера прав. | |
3 | 8***0 | Буфер задн. бампера лев. | |
4 | 8***0 | Усилитель задн. бампера | |
5 | 8***0 | Накладка декоративная задн. бампера средн. | |
6 | H***5 | Бампер задн. | |
7 | 2***0 | Световозвращатель прав. | |
7 | 2***0 | Световозвращатель лев. | |
8 | 8***0 | Накладка декоративная задн. бампера прав. | |
8 | 8***0 | Накладка декоративная задн. бампера лев. | |
9 | 7***1 | Панель задка | |
10 | 8***1 | Облицовка задн. бампера верхн. | |
11 | 8***0 | Буфер задн. бампера лев. | |
11 | 8***0 | Буфер задн. бампера прав. |
Содержащиеся в справочниках-каталогах запасные части и детали не предлагаются к продаже, а носят исключительно информационный характер. В демо-версии артикулы (номера деталей) скрыты. Если вы хотите видеть полные оригинальные номера запчастей, вам необходимо зарегистрироваться на нашем сайте и приобрести подписку по интересующей вас конфигурации, после этого вы сможете встроить онлайн-каталоги на ваш сайт или пользоваться ими из личного кабинета нашего сайта. Обращаем ваше внимание на то, что каталоги содержат информацию об оригинальных заводских номерах и названиях запчастей. База по аналогам в данный момент не реализована. Поиска по VIN-номерам в онлайн-каталоге не предусмотрено. Выбор конкретного каталога осуществляется путем открытия нужного типа техники, марки, модели с учетом года выпуска или модификации.