Каталог запасных частей к технике: Nissan Bluebird Grand Prix (2012). Двигатель/Система охлаждения 2

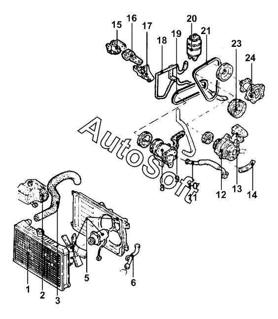
13
24
23
21
21
19
18
17
16
15
14
2
12
10
9
8
6
3
3
1
20
5
Позиция на иллюстрации | Заводской номер детали | Название детали | |
---|---|---|---|
1 | 2***2 | Радиатор жидкостного охлаждения | |
2 | 2***1 | Бачок расширительный | |
3 | 2***2 | Шланг радиатора верхн. | |
3 | 2***0 | Шланг радиатора нижн. | |
5 | 2***0 | Двигатель вентилятора с кожухом | |
6 | 2***0 | Труба водяная | |
8 | 4***5 | Насос усилителя руля | |
9 | 1***0 | Скоба крепления насоса | |
10 | 4***0 | Трубопровод подводящий | |
12 | 2***E | Генератор | |
13 | 1***0 | Кронштейн генератора | |
14 | 1***5 | Скоба крепления генератора | |
15 | 1***0 | Кронштейн опоры двигателя прав. верхн. | |
16 | 1***2 | Опора двигателя прав. верхн. | |
17 | 1***0 | Кронштейн опоры двигателя прав. | |
18 | 4***0 | Трубопровод отводящий | |
19 | 1***P | Ремень клиновой насоса усилителя руля | |
20 | 4***2 | Насос масляного бачка | |
21 | 1***P | Ремень клиновой генератора | |
21 | 2***0 | Шкив водяного насоса | |
23 | 1***0 | Шкив коленчатого вала | |
24 | B***6 | Насос водяной |
Содержащиеся в справочниках-каталогах запасные части и детали не предлагаются к продаже, а носят исключительно информационный характер. В демо-версии артикулы (номера деталей) скрыты. Если вы хотите видеть полные оригинальные номера запчастей, вам необходимо зарегистрироваться на нашем сайте и приобрести подписку по интересующей вас конфигурации, после этого вы сможете встроить онлайн-каталоги на ваш сайт или пользоваться ими из личного кабинета нашего сайта. Обращаем ваше внимание на то, что каталоги содержат информацию об оригинальных заводских номерах и названиях запчастей. База по аналогам в данный момент не реализована. Поиска по VIN-номерам в онлайн-каталоге не предусмотрено. Выбор конкретного каталога осуществляется путем открытия нужного типа техники, марки, модели с учетом года выпуска или модификации.