Каталог запасных частей к технике: Mazda 2 1.6I Top (2012). Передняя часть кузова: капот, лобовое стекло

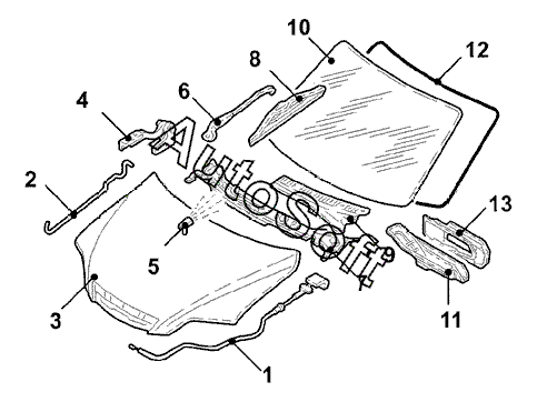
7
13
12
11
10
9
9
8
8
1
6
6
5
5
4
4
3
2
Позиция на иллюстрации | Заводской номер детали | Название детали | |
---|---|---|---|
1 | D***B | Тяга привода замка капота | |
2 | D***0 | Опора капота | |
3 | D***F | Капот | |
4 | D***D | Петля капота прав. | |
4 | D***D | Петля капота лев. | |
5 | D***0 | Форсунка омывателя прав. | |
5 | D***0 | Форсунка омывателя лев. | |
6 | D***1 | Рычаг стеклоочистителя лев. | |
6 | S***B | Рычаг стеклоочистителя прав. | |
7 | D***A | Накладка облицовочная панели/щитка передка | |
8 | C***B | Щетка стеклоочистителя лев. | |
8 | S***B | Щетка стеклоочистителя прав. | |
9 | D***B | Накладка передн. прав. обтекателя | |
9 | D***B | Накладка передн. лев. обтекателя | |
10 | D***E | Стекло лобовое трехслойное тонир. | |
11 | D***Y | Облицовка обтекателя | |
12 | D***E | Уплотнитель лобового стекла | |
13 | D***Z | Облицовка обтекателя |
Содержащиеся в справочниках-каталогах запасные части и детали не предлагаются к продаже, а носят исключительно информационный характер. В демо-версии артикулы (номера деталей) скрыты. Если вы хотите видеть полные оригинальные номера запчастей, вам необходимо зарегистрироваться на нашем сайте и приобрести подписку по интересующей вас конфигурации, после этого вы сможете встроить онлайн-каталоги на ваш сайт или пользоваться ими из личного кабинета нашего сайта. Обращаем ваше внимание на то, что каталоги содержат информацию об оригинальных заводских номерах и названиях запчастей. База по аналогам в данный момент не реализована. Поиска по VIN-номерам в онлайн-каталоге не предусмотрено. Выбор конкретного каталога осуществляется путем открытия нужного типа техники, марки, модели с учетом года выпуска или модификации.