Каталог запасных частей к технике: Mazda 323 1.4 LX (2012). Рама/Элементы жесткости кузова 1

24
18
19
20
20
21
5
22
24
17
8
12
12
16
23
23
25
1
17
15
14
11
11
10
9
9
6
4
4
3
2
2
1
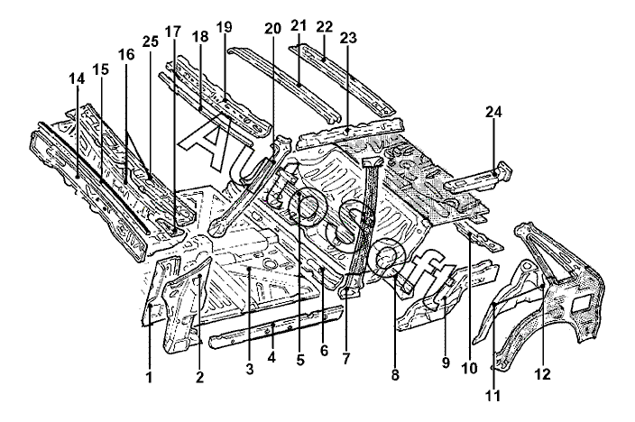
Позиция на иллюстрации | Заводской номер детали | Название детали | |
---|---|---|---|
1 | B***B | Усилитель передн. прав. стойки нижн. | |
1 | B***B | Усилитель передн. лев. стойки нижн. | |
2 | B***B | Стойка передн. прав. нижн. часть | |
2 | B***B | Стойка передн. лев. нижн. часть | |
3 | B***C | Основание передн. | |
4 | B***0 | Порог прав. двери внутр. | |
4 | B***0 | Порог лев. двери внутр. | |
5 | B***D | Основание задн. | |
6 | B***B | Поперечина передн. | |
8 | B***D | Поперечина средн. | |
9 | B***0 | Лонжерон задн. прав. | |
9 | B***0 | Лонжерон задн. лев. | |
10 | B***A | Поперечина задн. | |
11 | B***E | Арка задн. колеса прав. внутр. | |
11 | B***E | Арка задн. колеса лев. внутр. | |
12 | B***M | Боковина прав. внутр. часть | |
12 | B***M | Боковина лев. внутр. часть | |
14 | B***B | Перегородка | |
15 | B***A | Уплотнитель щитка передка | |
16 | B***C | Щиток передка | |
17 | B***5 | Усилитель щитка передка прав. | |
17 | B***6 | Усилитель щитка передка лев. | |
18 | B***2 | Поперечина крыши 1 | |
19 | B***A | Поперечина крыши передн. | |
20 | B***0 | Стойка передн. прав. верхн. внутр. часть | |
20 | B***0 | Стойка передн. лев. верхн. внутр. часть | |
21 | B***1 | Поперечина крыши средн. | |
22 | B***A | Поперечина крыши задн. | |
23 | B***B | Рама крыши прав. внутр. часть | |
23 | B***B | Рама крыши лев. внутр. часть | |
24 | B***0 | Лонжерон задн. часть | |
24 | B***0 | Лонжерон задн. часть | |
25 | B***C | Облицовка щитка передка |
Содержащиеся в справочниках-каталогах запасные части и детали не предлагаются к продаже, а носят исключительно информационный характер. В демо-версии артикулы (номера деталей) скрыты. Если вы хотите видеть полные оригинальные номера запчастей, вам необходимо зарегистрироваться на нашем сайте и приобрести подписку по интересующей вас конфигурации, после этого вы сможете встроить онлайн-каталоги на ваш сайт или пользоваться ими из личного кабинета нашего сайта. Обращаем ваше внимание на то, что каталоги содержат информацию об оригинальных заводских номерах и названиях запчастей. База по аналогам в данный момент не реализована. Поиска по VIN-номерам в онлайн-каталоге не предусмотрено. Выбор конкретного каталога осуществляется путем открытия нужного типа техники, марки, модели с учетом года выпуска или модификации.