Каталог запасных частей к технике: Mazda 323 LX (2012). Двери 2

17
11
12
12
13
14
14
15
15
16
16
11
17
18
18
19
19
20
20
21
21
6
1
2
2
3
3
4
4
5
5
1
6
7
7
8
8
9
9
10
10
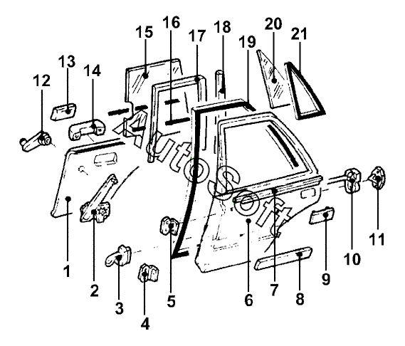
Позиция на иллюстрации | Заводской номер детали | Название детали | |
---|---|---|---|
1 | B***5 | Облицовка задн. прав. двери | |
1 | B***5 | Облицовка задн. лев. двери | |
2 | B***C | Стеклоподъемник задн. прав. | |
2 | B***C | Стеклоподъемник задн. лев. | |
3 | B***B | Ограничитель задн. прав. двери | |
3 | B***B | Ограничитель задн. лев. двери | |
4 | B***A | Петля задн. прав. двери нижн. | |
4 | B***A | Петля задн. лев. двери нижн. | |
5 | B***A | Петля задн. прав. двери верхн. | |
5 | B***A | Петля задн. лев. двери верхн. | |
6 | B***K | Дверь задн. прав. | |
6 | B***K | Дверь задн. лев. | |
7 | B***A | Накладка декоративная шахты задн. прав. стекла | |
7 | B***A | Накладка декоративная шахты задн. лев. стекла | |
8 | B***3 | Накладка защитная задн. прав. двери | |
8 | B***3 | Накладка защитная задн. лев. двери | |
9 | B***E | Ручка задн. двери прав. наружн. | |
9 | B***E | Ручка задн. лев. двери наружн. | |
10 | B***B | Замок задн. прав. двери | |
10 | B***B | Замок задн. лев. двери | |
11 | B***A | Защелка задн. прав. замка | |
11 | B***A | Защелка задн. лев. замка | |
12 | S***5 | Ручка стеклоподъемника прав. | |
12 | S***5 | Ручка стеклоподъемника лев. | |
13 | B***0 | Контакт размыкающий задн. двери лев. внутр. | |
14 | U***5 | Подлокотник задн. прав. сиденья | |
14 | U***5 | Подлокотник задн. лев. сиденья | |
15 | B***D | Стекло задн. прав. двери тонир. | |
15 | B***D | Стекло задн. лев. двери тонир. | |
16 | B***A | Уплотнитель шахты стекла прав. наружн. | |
16 | B***0 | Уплотнитель шахты стекла лев. наружн. | |
17 | B***5 | Направляющая стекла задн. прав. двери | |
17 | B***5 | Направляющая стекла задн. лев. двери | |
18 | B***C | Направляющая задн. прав. | |
18 | B***C | Направляющая задн. лев. | |
19 | B***F | Уплотнитель задн. прав. двери | |
19 | B***F | Уплотнитель задн. лев. двери | |
20 | B***D | Стекло треугольное задн. прав. | |
20 | B***D | Стекло треугольное задн. лев. | |
21 | B***A | Уплотнитель прав. треугольного стекла | |
21 | B***A | Уплотнитель лев. треугольного стекла |
Содержащиеся в справочниках-каталогах запасные части и детали не предлагаются к продаже, а носят исключительно информационный характер. В демо-версии артикулы (номера деталей) скрыты. Если вы хотите видеть полные оригинальные номера запчастей, вам необходимо зарегистрироваться на нашем сайте и приобрести подписку по интересующей вас конфигурации, после этого вы сможете встроить онлайн-каталоги на ваш сайт или пользоваться ими из личного кабинета нашего сайта. Обращаем ваше внимание на то, что каталоги содержат информацию об оригинальных заводских номерах и названиях запчастей. База по аналогам в данный момент не реализована. Поиска по VIN-номерам в онлайн-каталоге не предусмотрено. Выбор конкретного каталога осуществляется путем открытия нужного типа техники, марки, модели с учетом года выпуска или модификации.